LEMON Manuals: Even more car manuals for everyone
Home >> Chrysler >> 2007 >> Crossfire Base, 2D Convertible >> Repair and Diagnosis >> External Pages >> Different car >> Section 172 ((Body Control Module (BCM) - Electrical Diagnostics)) >> DTC Troubleshooting >> DTC 90d8: LOST COMMUNICATION WITH DDM (DRIVER DOOR MODULE) >> Notes

DTC 90d8: LOST COMMUNICATION WITH DDM (DRIVER DOOR MODULE): Notes

WARNING: This page is about a different car, the 2009 Dodge Sprinter. However, it is still accessible from the selected car via links, so may be relevant.
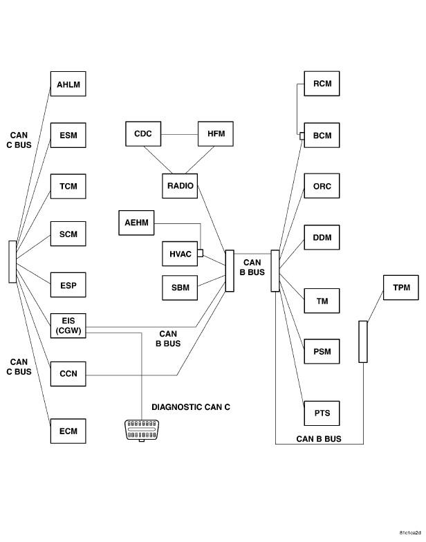
GC0134773Courtesy of CHRYSLER LLC

For complete wiring diagrams, refer to SYSTEM WIRING DIAGRAMS .

Possible Causes 
CAN C BUS CIRCUITS OPEN OR SHORTED
DTCS RELATED TO BATTERY VOLTAGE, IGNITION, OR VIN MESSAGES
EIS (CGW) NOT CONFIGURED CORRECTLY
DRIVER DOOR MODULE POWER AND GROUND
DRIVER DOOR MODULE
MODULE THAT SET THE DTC