Diagnostic Test
WARNING: This page is about a different car, the 2009 Dodge Sprinter. However, it is still accessible from the selected car via links, so may be relevant.
- TEST FOR INTERMITTENT CONDITION
- Turn the ignition on.
- With the scan tool, record and erase DTCs.
- Close all doors.
- Operate the door lock switch in both directions a few times.
- Wait 30 seconds.
- With the scan tool, read DTCs.
Does the scan tool display 9070-PASSENGER DOOR LOCK CONTROL CIRCUIT HIGH?
Yes
- Go to step 2
No
- The conditions that caused this code to set are not present at this time. Using the SYSTEM WIRING DIAGRAMS as a guide, inspect the wiring and connectors.
- Perform the BODY VERIFICATION TEST. See DTC-Based Diagnostics/MODULE, Body Control (BCM) - Standard Procedure .
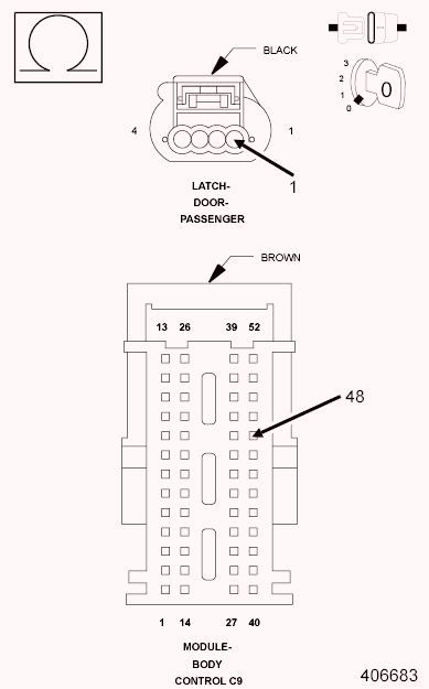
- DOOR LATCH
- Disconnect the Passenger Door Latch connector.
- Using a 12-volt test light, connect one end to the Passenger Door Lock Driver circuit and the other end to the Passenger Door Unlock Driver circuit.
- Operate the door lock switch in both directions a few times.
Does the test light illuminate brightly when the switch is operated in both directions?
Yes
- Replace the Passenger Door Latch in accordance with the Service Information.
- Perform the BODY VERIFICATION TEST. See DTC-Based Diagnostics/MODULE, Body Control (BCM) - Standard Procedure .
No
- Go to step 3
- PASSENGER DOOR UNLOCK DRIVER CIRCUIT OPEN
- Turn the ignition off.
- Disconnect the Body Control Module C9 connector.
- Measure the resistance of the Passenger Door Unlock Driver circuit between the BCM C9 connector and the latch connector.
Is the resistance below 5.0 ohms?
No
- Repair the Passenger Door Unlock Driver circuit for a short to ground.
- Perform the BODY VERIFICATION TEST. See DTC-Based Diagnostics/MODULE, Body Control (BCM) - Standard Procedure .
Yes
- Go to step 4
- PASSENGER DOOR LOCK DRIVER CIRCUIT SHORT TO GROUND
- Measure the resistance of the Passenger Door Lock Driver circuit between the BCM C9 connector and the latch connector.
Is the resistance below 5.0 ohms?
No
- Repair the Passenger Door Lock Driver circuit for an open.
- Perform the BODY VERIFICATION TEST. See DTC-Based Diagnostics/MODULE, Body Control (BCM) - Standard Procedure .
Yes
- Replace the Body Control Module in accordance with the Service Information.
- Perform the BODY VERIFICATION TEST. See DTC-Based Diagnostics/MODULE, Body Control (BCM) - Standard Procedure .
- Measure the resistance of the Passenger Door Lock Driver circuit between the BCM C9 connector and the latch connector.