LEMON Manuals: Even more car manuals for everyone
Home >> Chrysler >> 2007 >> Crossfire Base, 2D Convertible >> Repair and Diagnosis >> External Pages >> Different car >> Section 16 ((Electronic Control Modules - Electrical Diagnostics)) >> Electronic Control Modules - Electrical Diagnostics >> DTC Troubleshooting >> DTC 90D8: Lost Communication With Driver Door Module >> Notes

DTC 90D8: Lost Communication With Driver Door Module: Notes

WARNING: This page is about a different car, the 2007 Dodge Sprinter. However, it is still accessible from the selected car via links, so may be relevant.
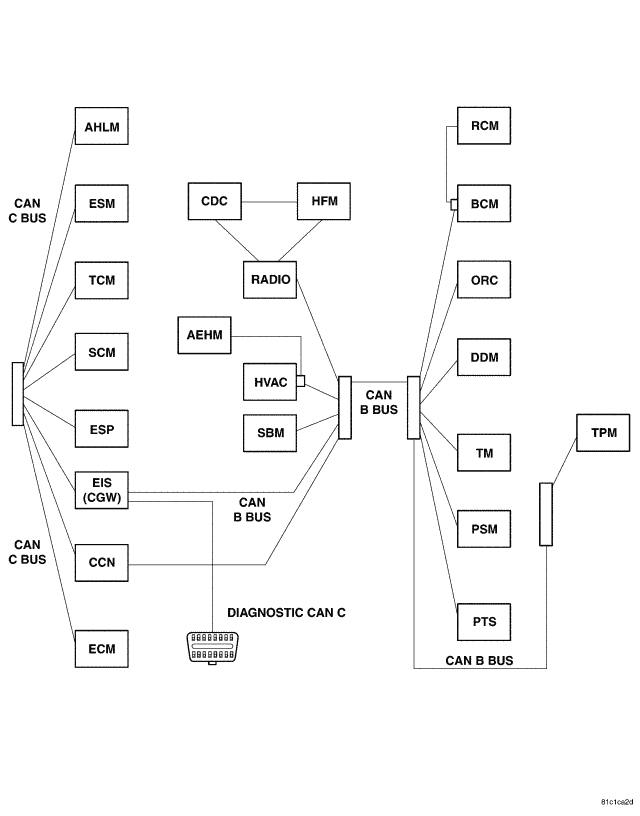
Fig 1: CAN B Bus Circuit Schematic
GC0065422Courtesy of CHRYSLER LLC

For complete wiring diagrams refer to SYSTEM WIRING DIAGRAMS article.

  1. When Monitored: 

    With the ignition on.

    Battery voltage between 10 and 16 volts.

    IOD fuse installed.

    EIS (CGW) is configured correctly.

  2. Set Condition: 

    Bus messages not received from the DDM for approximately 2 to 5 seconds.

Possible Causes 
CAN C BUS CIRCUITS OPEN OR SHORTED
DTCS RELATED TO BATTERY VOLTAGE, IGNITION, OR VIN MESSAGES
EIS (CGW) NOT CONFIGURED CORRECTLY
DRIVER DOOR MODULE POWER AND GROUND
DRIVER DOOR MODULE
MODULE THAT SET THE DTC