LEMON Manuals: Even more car manuals for everyone
Home >> Chrysler >> 2007 >> Crossfire Base, 2D Convertible >> Repair and Diagnosis >> External Pages >> Different car >> Section 16 ((Electronic Control Modules - Electrical Diagnostics)) >> Electronic Control Modules - Electrical Diagnostics >> DTC Troubleshooting >> *No Response From BCM (Body Control Module) >> Diagnostic Test

Diagnostic Test

WARNING: This page is about a different car, the 2007 Dodge Sprinter. However, it is still accessible from the selected car via links, so may be relevant.
  1. 1) TEST FOR INTERMITTENT CONDITION 

    Turn the ignition on.

    NOTE: Ensure the IOD fuse is installed and battery voltage is between 10.0 and 16.0 volts.

    With the scan tool, select ECU view.

    NOTE: A red X will be next to the module that is not communicating, indicating that the module is not active on the Bus network. A green check indicates that the module is active on the Bus network.

    Does the scan tool display a red X next to the module? 

    Yes 

    1. Go To step  2).

    No 

    1. The no response condition is not present at this time. Using the wiring diagram/schematic as a guide, inspect the wiring for chafed, pierced, pinched, and partially broken wires and the wiring harness connectors for broken, bent, pushed out, and corroded terminals.
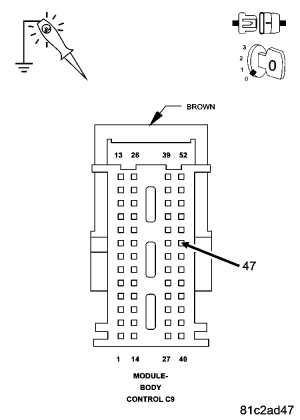
  2. 2) FUSED B(+) CIRCUIT OPEN OR SHORTED 
    Fig 1: Body Control Module Harness Connector - Pin 47
    GC0065437Courtesy of CHRYSLER LLC

    Turn the ignition off.

    Using the wiring diagrams as a guide, disconnect the appropriate Body Control Module harness connector.

    Using a 12-volt test light connected to ground, check the Fused B(+) circuit.

    Does the test light illuminate brightly? 

    Yes 

    1. Go To step  3).

    No 

    1. Repair the Fused B(+) circuit for an open or short.
    2. Perform BODY VERIFICATION TEST - VER 1 .
  3. 3) GROUND CIRCUIT OPEN 
    Fig 2: Body Control Module Harness Connector - Pin 8
    GC0065438Courtesy of CHRYSLER LLC

    Using a 12-volt test light connected to 12-volts, check the ground circuit.

    Does the test light illuminate brightly? 

    Yes 

    1. Go To step  4).

    No 

    1. Repair the ground circuit for an open.
    2. Perform BODY VERIFICATION TEST - VER 1 .
  4. 4) FUSED IGNITION SWITCH OUTPUT CIRCUIT OPEN OR SHORTED 
    Fig 3: Body Control Module Harness Connector - Pins 5 And 6
    GC0065439Courtesy of CHRYSLER LLC

    Turn the ignition on.

    Using a 12-volt test light connected to ground, check the Fused Ignition Switch Output circuit.

    Does the test light illuminate brightly? 

    Yes 

    1. Go To step  5).

    No 

    1. Repair the Fused Ignition Switch Output circuit for an open or short.
    2. Perform BODY VERIFICATION TEST - VER 1 .
  5. 5) CAN B BUS CIRCUITS OPEN 
    Fig 4: Measuring The Voltage Between The CAN B Bus Circuit And Ground
    GC0065440Courtesy of CHRYSLER LLC
    NOTE: One open circuit will not cause this condition.

    Measure the voltage between the CAN B Bus (-) circuit and ground.

    Measure the voltage between the CAN B Bus (+) circuit and ground.

    Is there any voltage present on either circuit? 

    Yes 

    1. Replace the Body Control Module in accordance with the service information.
    2. Perform BODY VERIFICATION TEST - VER 1 .

    No 

    1. Repair the CAN B Bus circuits for an open. Inspect the connector for damage.
    2. Perform BODY VERIFICATION TEST - VER 1 .