LEMON Manuals: Even more car manuals for everyone
Home >> Chrysler >> 2007 >> Crossfire Base, 2D Convertible >> Repair and Diagnosis >> External Pages >> Different car >> Section 16 ((Electronic Control Modules - Electrical Diagnostics)) >> Electronic Control Modules - Electrical Diagnostics >> DTC Troubleshooting >> *No Response From Abs (Antilock Brake Module) >> Diagnostic Test

Diagnostic Test

WARNING: This page is about a different car, the 2007 Dodge Sprinter. However, it is still accessible from the selected car via links, so may be relevant.
  1. 1) TEST FOR INTERMITTENT CONDITION 

    Turn the ignition on.

    NOTE: Ensure the IOD fuse is installed and battery voltage is between 10.0 and 16.0 volts.

    With the scan tool, select ECU view.

    NOTE: A red X will be next to the module that is not communicating, indicating that the module is not active on the Bus network. A green check indicates that the module is active on the Bus network.
    NOTE: Check the EIS (GAteway Module) for any active CAN C hardware DTCs, perform DTC before proceeding.

    Does the scan tool display a red X next to the module? 

    Yes 

    1. Go To step  2).

    No 

    1. The no response condition is not present at this time. Using the wiring diagram/schematic as a guide, inspect the wiring for chafed, pierced, pinched, and partially broken wires and the wiring harness connectors for broken, bent, pushed out, and corroded terminals.
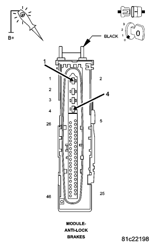
  2. 2) GROUND CIRCUIT OPEN 
    Fig 1: Antilock Brake Module Harness Connector - Pins 1 And 4
    GC0065430Courtesy of CHRYSLER LLC

    Turn the ignition off.

    Disconnect the Antilock Brake Module harness connector.

    Using a 12-volt test light connected to 12-volts and the wiring diagrams as a guide, check each ground circuit.

    Does the test light illuminate brightly for each circuit? 

    Yes 

    1. Go To step  3).

    No 

    1. Repair the ground circuit for an open.
    2. Perform ABS VERIFICATION TEST . - VER 1.
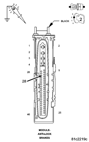
  3. 3) FUSED IGNITION SWITCH OUTPUT CIRCUIT OPEN OR SHORTED 
    Fig 2: Antilock Brake Module Harness Connector - Pin 28
    GC0065431Courtesy of CHRYSLER LLC

    Turn the ignition on.

    Using a 12-volt test light connected to ground and the wiring diagrams as a guide, check the Fused Ignition Switch Output circuit.

    Does the test light illuminate brightly? 

    Yes 

    1. Go To step  4).

    No 

    1. Repair the Fused Ignition Switch Output circuit for an open or short.
    2. Perform ABS VERIFICATION TEST . - VER 1.
  4. 4) CAN C BUS (+) CIRCUIT OPEN 
    Fig 3: Measuring The Resistance Of The CAN C Bus (+) Circuit Between The Ignition Switch Connector And The Antilock Brake Module Connector
    GC0065300Courtesy of CHRYSLER LLC

    Turn the ignition off.

    Disconnect the Ignition Switch C4 harness connector.

    Measure the resistance of the CAN C Bus (+) circuit between the Ignition Switch connector and the Antilock Brake Module connector.

    Is resistance below 5.0 ohms? 

    Yes 

    1. Go To step  5).

    No 

    1. Repair the CAN C Bus (+) circuit for an open.
    2. Perform ABS VERIFICATION TEST . - VER 1.
  5. 5) CAN C BUS (-) CIRCUIT OPEN 
    Fig 4: Measuring The Resistance Of The CAN C Bus (-) Circuit Between The Ignition Switch Connector And The Antilock Brake Module Connector
    GC0065301Courtesy of CHRYSLER LLC

    Measure the resistance of the CAN C Bus (-) circuit between the Ignition Switch connector and the Antilock Brake Module connector.

    Is resistance below 5.0 ohms? 

    Yes 

    1. Replace the Antilock Brake Module in accordance with the service information.
    2. Perform ABS VERIFICATION TEST . - VER 1.

    No 

    1. Repair the CAN C Bus (-) circuit for an open.
    2. Perform ABS VERIFICATION TEST . - VER 1.