LEMON Manuals: Even more car manuals for everyone
Home >> Chrysler >> 2007 >> Crossfire Base, 2D Convertible >> Repair and Diagnosis >> Engine Performance >> Fuel Delivery >> Fuel System >> Fuel Injection >> O2 Sensor >> Description >> Oxygen Sensor

Oxygen Sensor

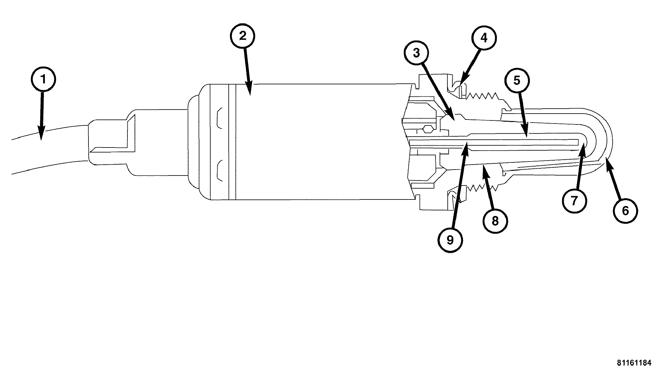
Fig 1: Identifying O2 Sensor Components
GC0032359Courtesy of CHRYSLER LLC
1 - ELECTRICAL CONNECTION
2 - SENSOR HOUSING
3 - ACTIVE CERAMIC PROBE BODY
4 - MATING SURFACE
5 - HEATING ELEMENT
6 - PROTECTIVE TUBE
7 - INNER, OPEN COMBUSTION CHAMBER
8 - ELECTRODE (OUTER)
9 - ELECTRODE (INNER)

The Oxygen Sensors (O2S) are attached to, and protrude into the vehicle exhaust system. The vehicle uses a total of 4 sensors; 2 upstream (referred to as 1/1 and 2/1) and 2 downstream (referred to as 1/2 and 2/2). The right upstream sensor (1/1) is located in the right exhaust pipe just before the mini-catalytic converter. The left upstream sensor (2/1) is located in the left exhaust pipe just before the mini-catalytic converter. The right downstream sensor (1/2) is located in the right exhaust downpipe just after the mini-catalytic converter, and before the main catalytic converter. The left downstream sensor (2/2) is located in the left exhaust downpipe just after the mini-catalytic converter, and before the main catalytic converter.