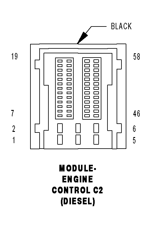
Engine Control Module (Diesel) Connector End View (C2)
MODULE-ENGINE CONTROL C2 (DIESEL) - BLACK 58 WAY
| CAV | CIRCUIT | FUNCTION |
| 1 | K344 14BR/GY | FUSED ASD RELAY OUTPUT 3 |
| 2 | Z904 14BK/BR | GROUND |
| 3 | K343 14BR/YL | FUSED ASD RELAY OUTPUT 2 |
| 4 | Z904 14BK/BR | GROUND |
| 5 | K342 14BR/WT | FUSED ASD RELAY OUTPUT 1 |
| 6 | Z904 14BK/BR | GROUND |
| 7 | K167 16BR/YL | ACCELERATOR PEDAL POSITION SENSOR NO. 1 GROUND |
| 8 | - | - |
| 9 | - | - |
| 10 | - | - |
| 11 | K355 18BR/DG | EXHAUST DIFFERENTIAL PRESSURE SENSOR SIGNAL |
| 12 | K29 20WT/BR | ACCELERATOR PEDAL POSITION SENSOR NO. 2 SIGNAL |
| 13 | - | - |
| 14 | G6 20VT/GY | OIL PRESSURE SENSOR SIGNAL |
| 15 | F855 20PK/YL | ACCELERATOR PEDAL POSITION SENSOR NO. 1 5 VOLT SUPPLY |
| 16 | K354 18BR/LG | EXHAUST DIFFERENTIAL PRESSURE SENSOR 5 VOLT SUPPLY |
| 17 | F856 20YL/PK | ACCELERATOR PEDAL POSITION SENSOR NO. 2 5 VOLT SUPPLY |
| 18 | - | - |
| 19 | - | - |
| 20 | - | - |
| 21 | - | - |
| 22 | - | - |
| 23 | - | - |
| 24 | K23 20BR/WT | ACCELERATOR PEDAL POSITION SENSOR NO. 1 SIGNAL |
| 25 | - | - |
| 26 | - | - |
| 27 | - | - |
| 28 | - | - |
| 29 | - | - |
| 30 | K951 20BR/DB | EXHAUST DIFFERENTIAL PRESSURE SENSOR GROUND |
| 31 | - | - |
| 32 | K31 20BR | FUEL PUMP RELAY CONTROL |
| 33 | - | - |
| 34 | - | - |
| 35 | - | - |
| 36 | - | - |
| 37 | - | - |
| 38 | - | - |
| 39 | - | - |
| 40 | K400 20BR/VT | ACCELERATOR PEDAL POSITION SENSOR NO. 2 GROUND |
| 41 | F202 20PK/GY | FUSED IGNITION SWITCH OUTPUT (RUN-START) |
| 42 | K51 20BR/WT | ASD RELAY CONTROL |
| 43 | D21 20WT/BR | SCI TRANSMIT (ECM/PCM) |
| 44 | T752 20DG/OR | STARTER RELAY CONTROL |
| 45 | - | - |
| 46 | - | - |
| 47 | - | - |
| 48 | F21 20PK/DG | FUSED IGNITION SWITCH OUTPUT (START) |
| 49 | - | - |
| 50 | - | - |
| 51 | D65 20WT/LG | CAN C BUS (+) |
| 52 | D64 20WT/LB | CAN C BUS (-) |
| 53 | - | - |
| 54 | C13 20LB/OR | A/C CLUTCH RELAY CONTROL |
| 55 | K363 20OR/BR | PTC NO. 3 RELAY CONTROL |
| 56 | - | - |
| 57 | - | - |
| 58 | - | - |