LEMON Manuals: Even more car manuals for everyone
Home >> Chrysler >> 2005 >> Crossfire Base, 2D Convertible >> Repair and Diagnosis >> Engine Performance >> System >> Diagnostic Code Index & DTCS P0040 To P0128 >> Diagnosis And Testing >> (P0121) Apps 5-Volt Supply Circuit >> Notes

(P0121) Apps 5-Volt Supply Circuit: Notes

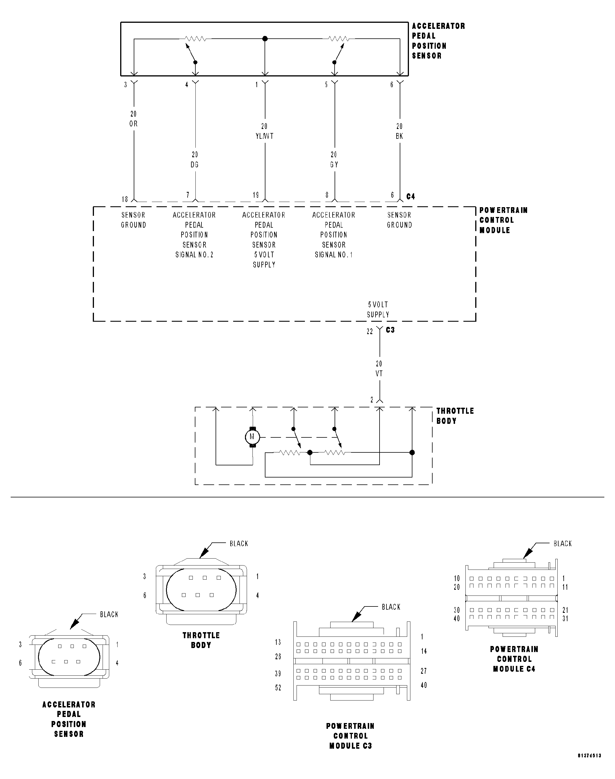
Fig 1: Accelerator Pedal Position Sensor & Throttle Body Circuit Schematic
GC0034106Courtesy of DAIMLERCHRYSLER CORP.