LEMON Manuals: Even more car manuals for everyone
Home >> Chrysler >> 2005 >> 300 Base >> Repair and Diagnosis (Single Page) >> Engine Performance >> System >> Diagnostic Code Index, DTCS P0016 To P0121, Troubleshooting Procedure & Intermittent Condition >> Diagnosis And Testing >> P0031-O2 Sensor 1/1 Heater Circuit Low >> Circuit Schematic

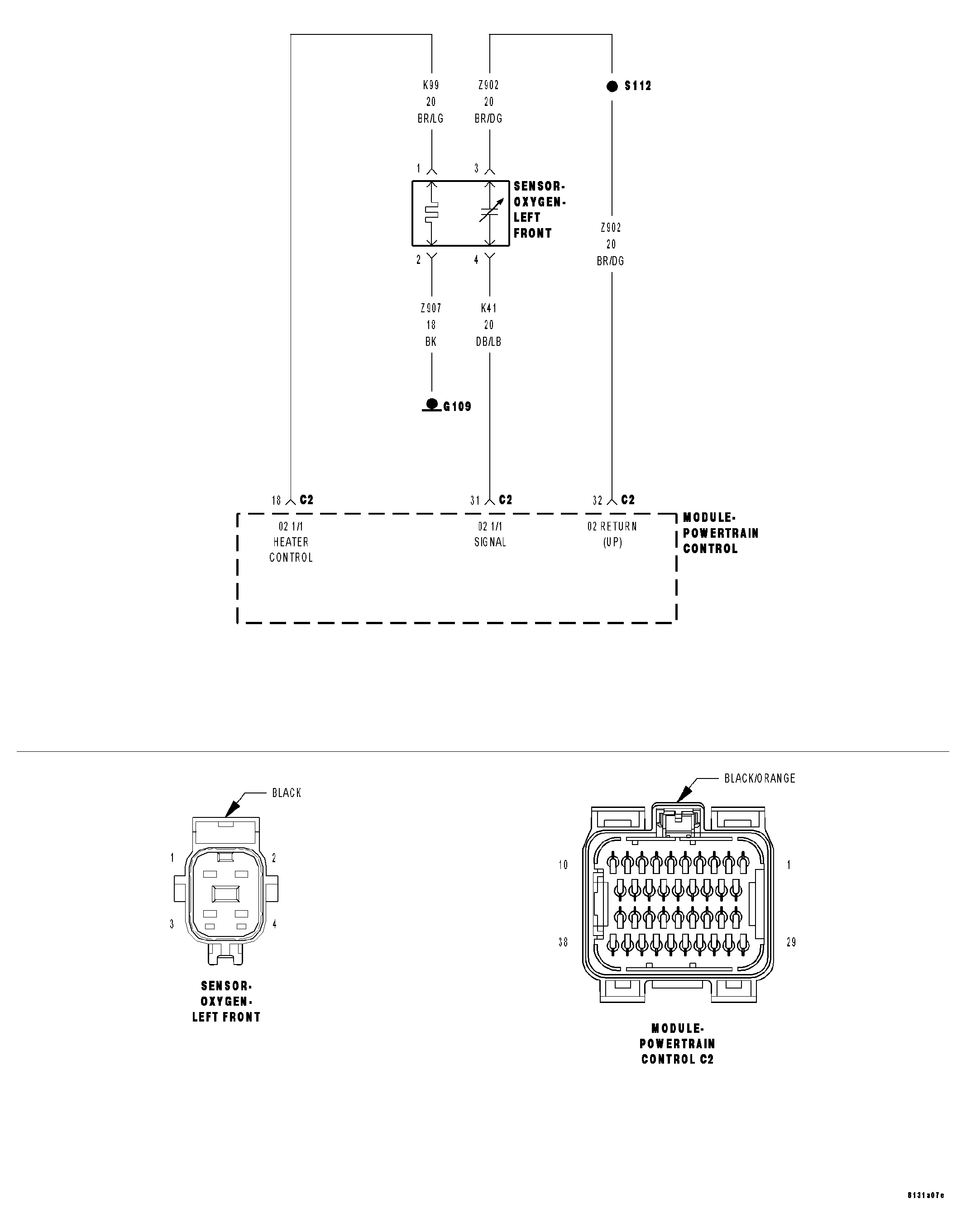
Circuit Schematic

Fig 1: Left Front Oxygen Sensor Heater Circuit Schematic
GC0014730Courtesy of DAIMLERCHRYSLER CORP.

For the Engine circuit diagram (Refer to ENGINE - SCHEMATICS AND DIAGRAMS) .