LEMON Manuals: Even more car manuals for everyone
Home >> Chrysler >> 2004 >> Crossfire Standard >> Repair and Diagnosis >> Engine Performance >> System >> Engine Controls - Electrical Diagnostics >> Diagnosis And Testing >> DTC P0122: Apps Signal #1 Circuit Low >> Diagnostic Test >> 4. Apps #1 Signal Circuit Open

4. Apps #1 Signal Circuit Open

Turn the ignition off.

Disconnect the PCM C4 harness connectors.

NOTE: Check connectors - Clean/repair as necessary.

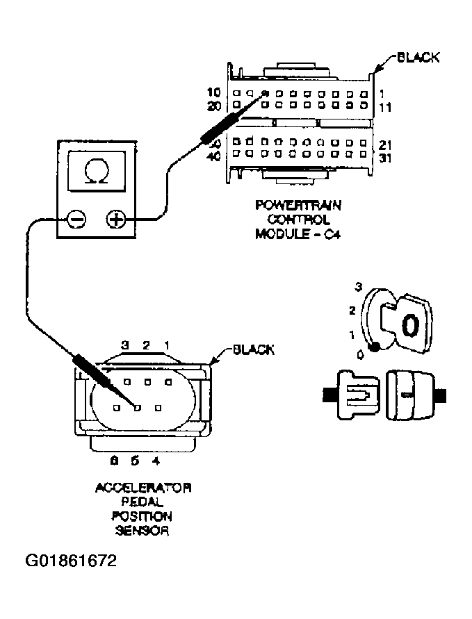
Measure the resistance of the APPS #1 Signal circuit from the APPS harness connector to the PCM C4 harness connector terminal.

Fig 1: Measuring Resistance Of APPS #1 Circuit
G01861672Courtesy of DAIMLERCHRYSLER CORP.

Is the resistance below 5.0 ohms? 

  1. Yes  >> Go To 5
  2. No  >> Repair the APPS #1 Signal circuit for an open.

    See POWERTRAIN VERIFICATION TEST - VER 2  .