LEMON Manuals: Even more car manuals for everyone
Home >> Chrysler >> 2004 >> Crossfire Standard >> Repair and Diagnosis >> Engine Performance >> System >> Engine Controls - Electrical Diagnostics >> Circuit Tests >> Cooling Fan Control Circuit Open >> Diagnostic Test >> 2. Radiator Fan Control Circuit Open

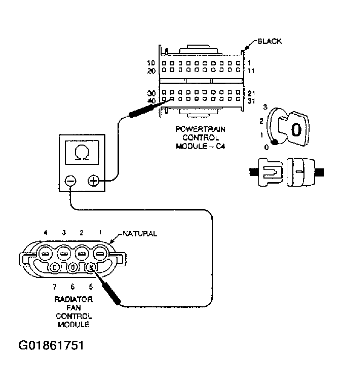
2. Radiator Fan Control Circuit Open

Turn the ignition off.

Disconnect the Radiator Fan Control Module harness connector.

NOTE: Check connectors - Clean/repair as necessary.

Measure the resistance of the Radiator Fan Control circuit from the PCM C4 harness connector to the Radiator Fan Control Module harness connector.

Fig 1: Measuring Resistance Of Radiator Fan Control Circuit
G01861751Courtesy of DAIMLERCHRYSLER CORP.

Is the resistance below 5.0 ohms? 

  1. Yes  >> Go To 3
  2. No  >> Repair the Radiator Fan Control circuit for an open.

    See POWERTRAIN VERIFICATION TEST - VER 2  .