LEMON Manuals: Even more car manuals for everyone
Home >> Chrysler >> 2004 >> Crossfire Standard >> Repair and Diagnosis >> Engine Performance >> Fuel Delivery >> Fuel System >> Intake Air Temperature Sensor >> Description

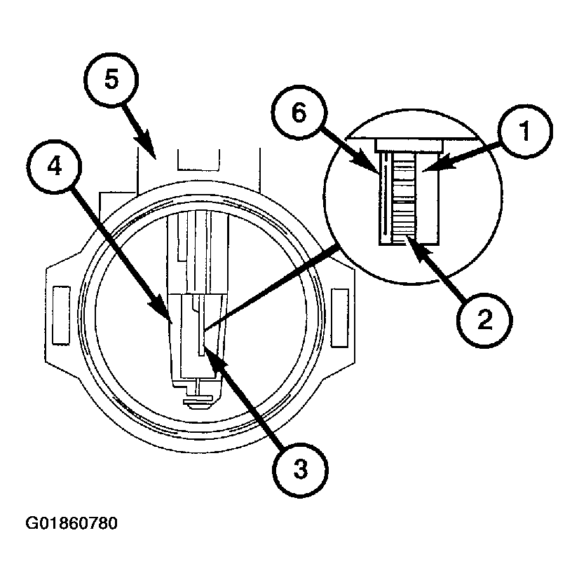
Intake Air Temperature Sensor: Description

The Intake Air Temperature sensor (IAT) (1,6,2) is integrated into the Mass Air Flow sensor (MAF). The IAT cannot be serviced separately. Refer to the MAF service procedures for removal. See MANIFOLD AIR FLOW (MAF) SENSOR .

The IAT senses the inlet air temperature to the engine. The IAT then sends a signal to the Powertrain Control Module (PCM).

Fig 1: Locating Intake Air Temperature Sensor (IAT)
G01860780Courtesy of DAIMLERCHRYSLER CORP.