LEMON Manuals: Even more car manuals for everyone
Home >> Chrysler >> 2004 >> Crossfire Standard >> Repair and Diagnosis (Single Page) >> Accessories & Equipment >> Communication Devices >> Electronic Control Modules >> Electronic Control Modules - Electrical Diagnostics >> Diagnosis And Testing >> *No Response From Transmission Control Module >> Diagnostic Test >> 1. Traction System Relay Output Circuit Open

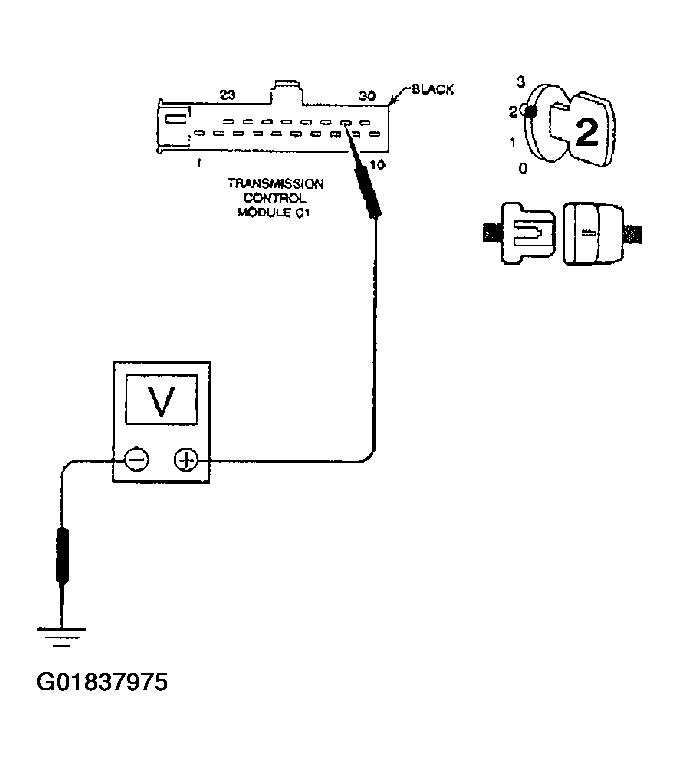
1. Traction System Relay Output Circuit Open

Turn the ignition off.

Disconnect the TCM harness connector.

NOTE: Check connector - Clean/repair as necessary.

Turn the ignition on.

Measure the voltage of the Traction System Relay Output circuit at the TCM harness connector.

Fig 1: Measuring Voltage Of Traction System Relay Output Circuit At TCM Harness Connector
G01837975Courtesy of DAIMLERCHRYSLER CORP.

Is the voltage above 10 volts? 

  1. Yes  >> Go to 2
  2. No  >> Repair the Traction System Relay Output circuit for an open.

    Perform TRANSMISSION VERIFICATION TEST. See ELECTRICAL DIAGNOSTICS - NAG1 article.