LEMON Manuals: Even more car manuals for everyone
Home >> Chrysler >> 2004 >> Crossfire Standard >> Repair and Diagnosis (Single Page) >> Accessories & Equipment >> Communication Devices >> Electronic Control Modules >> Electronic Control Modules - Electrical Diagnostics >> Diagnosis And Testing >> *No Response From Shift Lever Assembly >> Diagnostic Test >> 3. Ground Circuit Open

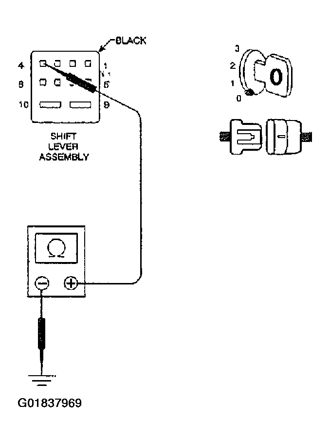
3. Ground Circuit Open

Turn the ignition off.

Measure the resistance of the Ground circuit from the SLA harness connector.

Fig 1: Measuring Resistance Of Ground Circuit From SLA Harness Connector
G01837969Courtesy of DAIMLERCHRYSLER CORP.

Is the resistance below 5.0 ohms? 

  1. Yes  >> Go to 4
  2. No  >> Repair the Ground circuit for an open.

    Perform TRANSMISSION VERIFICATION TEST. See ELECTRICAL DIAGNOSTICS - NAG1 article.