LEMON Manuals: Even more car manuals for everyone
Home >> Chrysler >> 2004 >> Crossfire Standard >> Repair and Diagnosis (Single Page) >> Accessories & Equipment >> Communication Devices >> Electronic Control Modules >> Electronic Control Modules - Electrical Diagnostics >> Diagnosis And Testing >> *No Response From Powertrain Control Module >> Diagnostic Test >> 5. Sci Receive Circuit Shorted To Ground

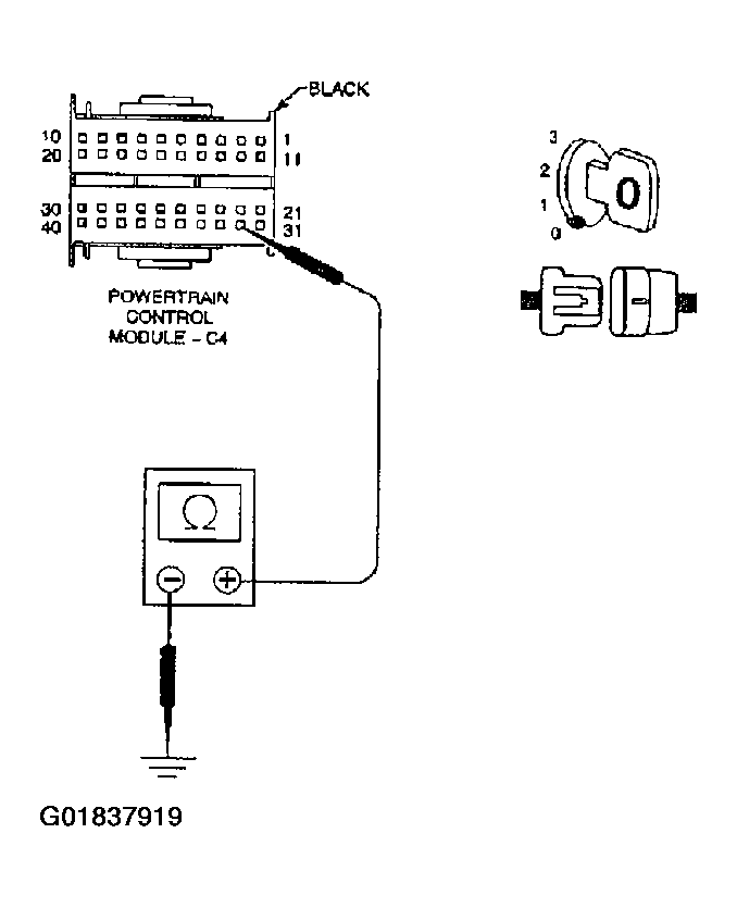
5. Sci Receive Circuit Shorted To Ground

With the ignition off.

Measure the resistance between ground and the PCM SCI Receive circuit.

Fig 1: Measuring Resistance Between Ground & PCM SCI Receive Circuit
G01837919Courtesy of DAIMLERCHRYSLER CORP.

Is the resistance below 100 kohms? 

  1. Yes  >> Repair the PCM SCI Receive circuit for a short to ground.

    Perform POWERTRAIN VERIFICATION TEST - VER 2 in ENGINE - ELECTRICAL DIAGNOSTICS article.

  2. No  >> Go to 6