LEMON Manuals: Even more car manuals for everyone
Home >> Chrysler >> 2004 >> Crossfire Standard >> Repair and Diagnosis (Single Page) >> Accessories & Equipment >> Communication Devices >> Electronic Control Modules >> Electronic Control Modules - Electrical Diagnostics >> Diagnosis And Testing >> *No Response From Occupant Restraint Controller >> Diagnostic Test >> 1. Fused Ignition Switch Output Circuit Open

1. Fused Ignition Switch Output Circuit Open

WARNING: TURN THE IGNITION OFF, DISCONNECT THE BATTERY AND WAIT TWO MINUTES BEFORE PROCEEDING.

Turn the ignition off.

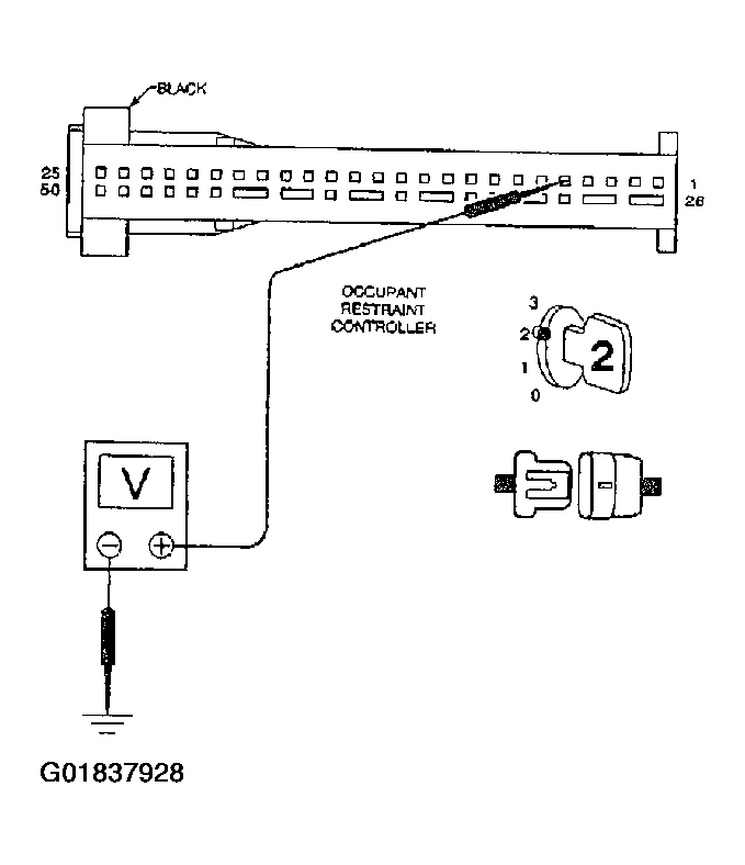
Disconnect the Occupant Restraint Controller (ORC) harness connector. See AIR BAG RESTRAINT SYSTEMS .

NOTE: Check connector - Clean/repair as necessary.

Turn the ignition on.

Measure the voltage of the Fused Ignition Switch Output circuit at the ORC harness connector.

Fig 1: Measuring Voltage Of Fused Ignition Switch Output At ORC Harness Connector
G01837928Courtesy of DAIMLERCHRYSLER CORP.

Is the voltage above 10 volts? 

  1. Yes  >> Go to 2
  2. No  >> Repair the Fused Ignition Switch Output circuit for an open.
WARNING: WHEN RECONNECTING AIRBAG SYSTEM COMPONENTS, THE IGNITION MUST BE TURNED OFF AND THE BATTERY MUST BE DISCONNECTED.

See AIR BAG RESTRAINT SYSTEMS article.