LEMON Manuals: Even more car manuals for everyone
Home >> Chrysler >> 2003 >> Intrepid SE >> Repair and Diagnosis (Single Page) >> Steering >> Steering Control Systems >> Body Diagnostic Procedures >> Schematic Diagram >> Interior Lighting

Interior Lighting

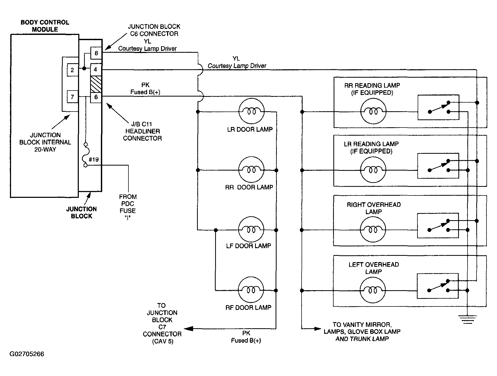
Fig 1: Schematic Diagrams - Interior Lighting (1 Of 2)
G02705266Courtesy of DAIMLERCHRYSLER CORP.
Fig 2: Schematic Diagrams - Interior Lighting (2 Of 2)
G02705267Courtesy of DAIMLERCHRYSLER CORP.