LEMON Manuals: Even more car manuals for everyone
Home >> Chrysler >> 2001 >> LHS >> Repair and Diagnosis (Single Page) >> Engine Performance >> System >> Engine Controls - System & Component Testing - Except Coupe >> Computerized Engine Controls >> Powertrain Control Module >> Checking PCM Power & Ground Circuits (Concorde, Intrepid, LHS, Neon, PT Cruiser & 300M)

Checking PCM Power & Ground Circuits (Concorde, Intrepid, LHS, Neon, PT Cruiser & 300M)

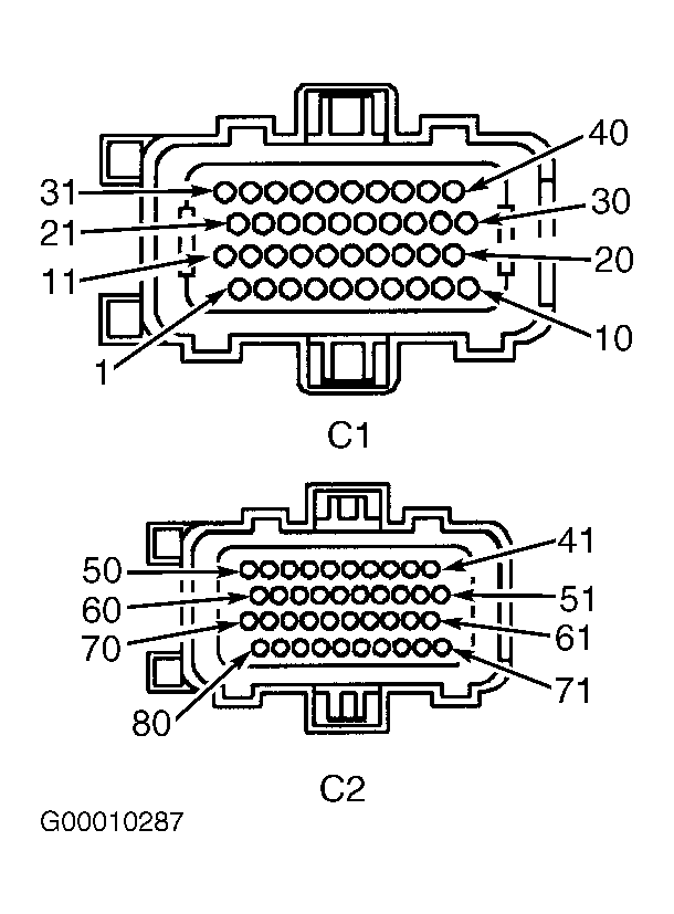
  1. Turn ignition off. Disconnect PCM harness connectors. For PCM location, see PCM LOCATION  table. Connect a test light between ground and fused battery voltage circuit (Red/White wire) at PCM C2 harness connector terminal No. 46. See Fig 1 or Fig 2 . If test light illuminates brightly, go to next step. If test light does not illuminate brightly, repair open in fused battery voltage circuit.
  2. Turn ignition on. Connect a test light between ground and fused ignition switch output circuit (Dark Blue/White wire) at PCM C1 harness connector terminal No. 20. If test light illuminates brightly, go to next step. If test light does not illuminate brightly, repair open in fused ignition switch output circuit.
  3. Turn ignition off. Using a test light connected to battery positive, individually probe the following ground circuits:
    • Black/Tan wire at PCM C1 harness connector terminal No. 10.
    • Black/Tan wire at PCM C2 harness connector terminal No. 50.
    • Black/White wire at PCM C2 harness connector terminal No. 47.

    If test light illuminates at each ground circuit, test is complete. If test light does not illuminate at each ground circuit, repair open in appropriate ground circuit.

Fig 1: Identifying PCM Harness Connectors & Terminals (Concorde, Intrepid, LHS & 300M)
G00010287Courtesy of DAIMLERCHRYSLER CORPORATION
Fig 2: Identifying PCM Harness Connectors & Terminals (Except Concorde, Intrepid, LHS & 300M)
G00016239Courtesy of DAIMLERCHRYSLER CORPORATION