LEMON Manuals: Even more car manuals for everyone
Home >> Chrysler >> 2001 >> LHS >> Repair and Diagnosis (Single Page) >> Engine Performance >> System >> Engine Controls - Self-Diagnostics >> Diagnostic Tests >> DTC P1195: 1/1 O2 Sensor Slow During Catalyst Monitor >> Testing

DTC P1195: 1/1 O2 Sensor Slow During Catalyst Monitor: Testing

NOTE: Check for contaminates that may have damaged 1/1 HO2S such as contaminated fuel, unapproved silicone, oil or coolant. 1/1 HO2S may also be referred to as an upstream oxygen sensor. 1/1 HO2S is located in outlet flange of right exhaust manifold. 1/1 catalytic converter is located in right exhaust pipe.
  1. Turn ignition on. Using scan tool, read DTCs. If GOOD TRIP counter is displayed and equal to zero, go to next step. If GOOD TRIP counter is not displayed and equal to zero, go to step  6 .
  2. Start engine and let it idle. Check exhaust system for leaks between engine and 1/1 catalytic converter. Repair exhaust system as necessary. If exhaust system is okay, go to next step.
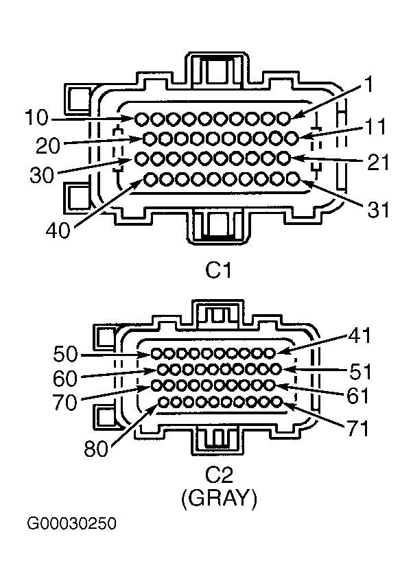
  3. Measure voltage drop in 1/1 HO2S signal circuit (Black/Dark Green wire) by backprobing between 1/1 HO2S connector and terminal No. 30 at PCM C1 connector. See Figure and Figure . If voltage drop is less than .1 volt, go to next step. If voltage drop is .1 volt or more, repair high resistance in Black/Dark Green wire.
  4. Measure voltage drop in sensor ground circuit (Black/Orange wire) by backprobing between 1/1 HO2S connector and terminal No. 27 at PCM C1 connector. If voltage drop is less than .1 volt, go to next step. If voltage drop is .1 volt or more, repair high resistance in Black/Orange wire.
  5. If no other possible causes are remaining, replace 1/1 HO2S.
  6. Conditions that set DTC are not present at this time. Perform the following to help identify intermittent condition:
    • Check for contaminates that may have damaged 1/1 HO2S such as contaminated fuel, unapproved silicone, oil or coolant.
    • With engine running at normal operating temperature, wiggle related wiring harness while monitoring related parameters on scan tool. If voltage changes or DTC sets while wiggling wiring harness, repair connectors or wiring harness where wiggling caused voltage to change or DTC to set.
    • Review freeze frame information on scan tool. Duplicate conditions present when DTC was set.
    • Refer to any technical service bulletins that may apply.
    • Visually inspect related wiring harness. Check for chafed, pierced, pinched or partially broken wires.
    • Visually inspect related wiring harness connectors. Check for broken, bent, pushed out or corroded terminals.

    If a problem is found, repair as necessary. If no problems are found, test is complete.