LEMON Manuals: Even more car manuals for everyone
Home >> Chrysler >> 2001 >> LHS >> Repair and Diagnosis (Single Page) >> Body & Frame >> Body, Cab Control Systems >> Body Control Modules >> System Tests >> Communications System >> No Response From Transmission Control Module Or Bus +/- Signals Open

No Response From Transmission Control Module Or Bus +/- Signals Open

NOTE: After making any repairs, perform TRANSMISSION SYSTEM VERIFICATION TEST  under VERIFICATION TESTS.
  1. Turn ignition off. Connect scan tool to Data Link Connector (DLC). Turn ignition on. Using scan tool, attempt to communicate with Powertrain Control Module (PCM), then Body Control Module (BCM). If scan tool communicates with either module, go to next step. If scan tool does not communicate with either module, perform PCI BUS COMMUNICATION FAILURE  test.
  2. NOTE: Test light must illuminate brightly in steps  25 . If test light does not illuminate, or illuminates dimly, circuit being tested must be repaired as necessary.
  3. Turn ignition off. Disconnect Transmission Control Module (TCM) connector. Turn ignition on. Using a 12-volt test light connected to ground, probe TCM connector terminal No. 11, fused ignition switch output start/run circuit (Red/White wire). See Figure . If test light illuminates brightly, leave TCM connector disconnected, and go to next step. If test light does not illuminate brightly, repair open in Red/White wire.
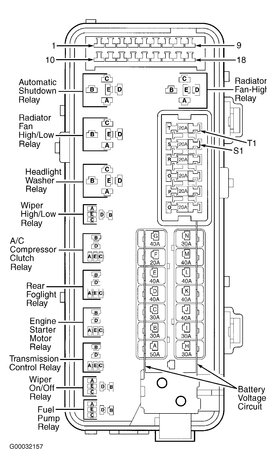
  4. Remove engine starter motor relay in Power Distribution Center (PDC). See Fig 1 . Using 12-volt test light connected to ground, probe TCM connector terminal No. 8, fused ignition switch output start circuit (Yellow wire). Observe test light while momentarily turning ignition switch to start position. If test light illuminates brightly, leave TCM connector disconnected, and go to next step. If test light does not illuminate brightly, repair open in Yellow wire, and install engine starter motor relay.
  5. Install engine starter motor relay. Using 12-volt test light connected to ground, probe TCM connector terminal No. 56, fused B+ circuit (Red/Light Blue wire). If test light illuminates brightly, leave TCM connector disconnected, and go to next step. If test light does not illuminate brightly, repair open in Red/Light Blue wire.
  6. Using 12-volt test light connected to battery voltage, probe TCM connector terminal No. 53, ground circuit (Black/Yellow wire) and No. 57, ground circuit (Black/Red wire). If test light illuminates brightly at both circuits, leave TCM connector disconnected, and go to next step. If test light does not illuminate brightly at either circuit, repair open in Black/Yellow wire and/or Black/Red wire(s).
  7. Using scan tool, attempt to communicate with other modules. If scan tool communicates with other modules, go to next step. If scan tool does not communicate with other modules, perform PCI BUS COMMUNICATION FAILURE  test.
  8. NOTE: Steps  79 are written specifically for use with Chrysler's Diagnostic Readout Box (DRBIII(R)) scan tool.
  9. Connect Scope Input Cable (CH7058) to channel one connector on scan tool. Connect Red and Black leads and Cable-To-Probe Adapter (CH7062) to scope input cable. Go to next step.
  10. Using scan tool, select DRB STANDALONE, LAB SCOPE, LIVE DATA, then 12-VOLT SQUARE WAVE. Press F2 for scope. Press F2 again and use down arrow to set voltage range to 20 volts. Press F2 again. Go to next step.
  11. Connect Black lead to chassis ground. Connect Red lead to TCM connector terminal No. 43, PCI bus circuit (Violet/Yellow wire). Turn ignition on. Observe voltage display on scan tool lab scope. If voltage pulses from zero to about 7.5 volts, replace TCM. If voltage does not pulse from zero to about 7.5 volts, leave TCM connector disconnected, and go to next step.
  12. Turn ignition off. Disconnect BCM connector C3. Measure resistance of PCI bus circuit (Violet/Yellow wire) between BCM connector C3 terminal No. 7 and TCM connector terminal No. 43. See Figure and Figure . If resistance is less than 5 ohms, replace BCM. If resistance is 5 ohms or more, repair open in Violet/Yellow wire.
Fig 1: Identifying Power Distribution Center Components & Terminals
G00032157Courtesy of DAIMLERCHRYSLER CORP.