LEMON Manuals: Even more car manuals for everyone
Home >> Chrysler >> 2000 >> Intrepid R/T >> Repair and Diagnosis (Single Page) >> Body & Frame >> Body, Cab Control Systems >> Body Control Modules >> System Tests >> Exterior Lighting Systems >> Headlight Switch Input Failure

Headlight Switch Input Failure

  1. Connect scan tool to Data Link Connector (DLC). Ensure headlight switch is off. Turn ignition on. Using scan tool, check headlight switch voltage. If greater than 4.8 volts is displayed, go to next step. If 4.8 volts or less is displayed, go to step  8 .
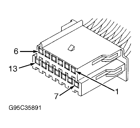
  2. Turn ignition off. Disconnect headlight switch harness connector. Turn ignition on. Measure voltage at terminal No. 12 (Yellow wire) at headlight switch harness connector. See Fig 1 . If voltage is greater than 5.3 volts, go to next step. If voltage is 5.3 volts or less, go to step  5 .
  3. Turn ignition off. Disconnect Body Control Module (BCM) harness connector C2. Measure resistance in Yellow wire between terminal No. 12 at headlight switch harness connector and terminal No. 2 at BCM harness connector C2. See Figure and Fig 1 . If resistance is 5 ohms or less, go to next step. If resistance is greater than 5 ohms, repair open in Yellow wire between headlight switch and BCM.
  4. Turn ignition on. Measure voltage at terminal No. 2 (Yellow wire) at BCM harness connector C2. If no voltage exists, replace BCM. If any voltage exists, repair short to voltage in Yellow wire between headlight switch and BCM.
  5. Turn ignition off. Disconnect Body Control Module (BCM) harness connector C2. Measure resistance in White wire between terminal No. 19 at headlight switch harness connector and terminal No. 6 at BCM harness connector C2. See Figure and Fig 1 . If resistance is 5 ohms or less, go to next step. If resistance is greater than 5 ohms, repair open in White wire between headlight switch and BCM.
  6. Measure resistance in Yellow wire between terminal No. 12 at headlight switch harness connector and terminal No. 2 at BCM harness connector C1. If resistance is 5 ohms or less, go to next step. If resistance is greater than 5 ohms, repair open in Yellow wire between headlight switch and BCM.
  7. Connect BCM harness connector C2. Using a fused jumper wire, connect terminals No. 6 (White wire) and No. 12 (Yellow wire) at headlight switch harness connector. Using scan tool, check headlight switch voltage. If zero volts is not displayed, replace BCM. If zero volts is displayed, replace headlight switch.
  8. Turn ignition off. Disconnect headlight switch harness connector. Turn ignition on. Using scan tool, check headlight switch voltage. If 4.8-5.2 volts is not displayed, go to next step. If 4.8-5.2 volts is displayed, replace headlight switch.
  9. Turn ignition off. Disconnect Body Control Module (BCM) harness connector C2. Measure resistance between ground and terminal No. 2 (Yellow wire) at BCM harness connector C2. See Figure . If resistance is greater than 1000 ohms, replace BCM. If resistance is 1000 ohms or less, repair short to ground in Yellow wire between headlight switch and BCM.
Fig 1: Identifying Headlight Switch Harness Connector Terminals
G95C35891Courtesy of DAIMLERCHRYSLER CORP.