LEMON Manuals: Even more car manuals for everyone
Home >> Chrysler >> 1999 >> LHS >> Repair and Diagnosis >> Body & Frame >> Body, Cab Control Systems >> Body Control Computer - Introduction >> Connector Identification

Connector Identification

NOTE: For terminal identification of body control system connectors, use appropriate illustration(s). See CONNECTOR IDENTIFICATION DIRECTORY  . Connector terminal numbers may be molded into connectors. If connector terminal identification differs from that shown in figure, use wire colors to ensure correct circuit is being tested. See WIRING DIAGRAMS  .
CONNECTOR IDENTIFICATION DIRECTORY

Connector See Fig.
ABS Controller (JA, JX, LH & NS Bodies) Fig 1
Air Bag Control Module (JA, JX & NS Bodies) Fig 2
Air Bag Control Module (AB, AN, BR, DN & LH Bodies) Fig 3
ATC Module (LH Body) Fig 4
ATC Sun Sensor/VTSS Indicator (LH Body) Fig 5
Body Control Module 10-Pin (JA & JX Bodies) Fig 6
Body Control Module 14-Pin (JA & JX Bodies) Fig 7
Body Control Module 20-Pin (JA & JX Bodies) Fig 8
Body Control Module 22-Pin (JA & JX Bodies) Fig 9
Body Control Module (LH Body)
"C1" 14-Pin (Gray) Fig 10
"C2" 24-Pin (Black) Fig 11
"C3" 12-Pin (Bone) Fig 12
"C4" 16-Pin (Blue) Fig 13
Body Control Module (NS Body) Fig 14
Central Timer Module "A" (AN, BR & DN Bodies) Fig 15
Central Timer Module "B" (AN, BR & DN Bodies) Fig 16
Central Timer Module (AB Body)
"C1" (Green) Fig 15
"C2" (White) Fig 16
Compass Mini-Trip Computer (AN & DN Bodies) Fig 17
Compass Mini-Trip Computer (JA & JX Bodies) Fig 18
Compass Mini-Trip Computer (NS Body) Fig 19
Courtesy Light Relay (JA & JX Bodies) Fig 20
Data Link (DLC) Fig 21
Door Lock Motor/Ajar Switch (DN & LH Bodies) Fig 22
Electrochromic Mirror (NS Body) Fig 23
Fuel Pump
LH Body Fig 24
NS Body Fig 25
Fuel Pump Module (JA & JX Bodies) Fig 26
Headlight Switch
Caravan & Voyager Fig 27
8-Pin, NS Body Fig 28
LH & NS Bodies Fig 29
AB Body Fig 30
Headliner (LH Body) Fig 31
HVAC Control Module (Blue - NS Body) Fig 32
Ignition Switch (LH Body) Fig 34
Ignition Switch (NS Body) Fig 35
Information Center (NS Body) Fig 29
Ignition Switch (JA & JX Bodies) Fig 33
Instrument Cluster
JA & JX Bodies Fig 36
All Except JA, JX & NS Models Fig 37
NS Body Fig 38
Junction Block 6-Pin (JA & JX Bodies) Fig 39
Junction Block (Typical - NS Body Shown) Fig 40
Junction Block Internal (NS Body) Fig 41
Key-In Ignition
AN & DN Bodies Fig 42
BR Body Fig 43
Memory Heated Seat/Mirror Module (LH Body)
12-Pin Connector Fig 44
16-Pin Connector Fig 45
26-Pin Connector Fig 46
Memory Mirror (LH Body) Fig 47
Multifunction Switch 10-Pin (JA & JX Bodies) Fig 48
Multifunction Switch (AN, BR & DN Bodies) Fig 49
Multifunction Switch 7-Pin (JA, JX & LH Bodies) Fig 50
Multifunction Switch (NS Body) Fig 51
OTIS Module (LH Body) Fig 52
Parking Light (NS Body) Fig 53
Power Door Lock Module (AB Body) Fig 54
Power Door Lock Switch
AB Body Fig 55
AN & BR Body Fig 57
Power Door Lock/Window Switch (DN Body) Fig 56
Power Seat Switch (LH Body) Fig 58
Power Seat Memory Switch (LH Body) Fig 19
Power Seat Memory Heater Switch (LH Body) Fig 19
Power Top Switch Fig 59
Powertrain Control Module
AB, AN & DN Bodies Fig 60
Except AB, AN & DN Bodies Fig 61
Remote Keyless Entry (RKE) Module (NS Body) Fig 19
Relay (Typical) Fig 62
Relay Center (AN & DN Bodies) Fig 63
Seat Belt Module (BR & JX Body) Fig 64
Sentry Key Immobilizer Module (JA, JX & LH Bodies) Fig 65
Steering Column (AB Body) Fig 66
Transmission Control Module Connector Fig 67
Wiper Motor
AN & DN Bodies Fig 68
BR Body Fig 69
JA & JX Bodies Fig 70
LH Body Fig 71
NS Body Fig 72
Fig 1: Identifying Anti-Lock Brake Controller Connector Terminals (JA, JX, LH & NS Bodies)
G98B00091Courtesy of CHRYSLER CORP.
Fig 2: Identifying Air Bag Control Module Connector Terminals (JA, JX & NS Bodies)
G98D00092Courtesy of CHRYSLER CORP.
Fig 3: Identifying Air Bag Control Module Connector Terminals (AB, AN, BR, DN & LH Bodies)
G98F00093Courtesy of CHRYSLER CORP.
Fig 4: Identifying Automatic Temperature Control Module Connector Terminals (LH Body)
G98H00094Courtesy of CHRYSLER CORP.
Fig 5: Identifying ATC Sun Sensor/VTSS Indicator Connector Terminals (LH Body)
G98A00095Courtesy of CHRYSLER CORP.
Fig 6: Identifying Body Control Module 10-Pin Connector Terminals (JA & JX Body)
G95C14284Courtesy of CHRYSLER CORP.
Fig 7: Identifying Body Control Module 14-Pin Connector Terminals (JA & JX Body)
G95D14285Courtesy of CHRYSLER CORP.
Fig 8: Identifying Body Control Module 20-Pin Connector Terminals (JA & JX Body)
G95E14286Courtesy of CHRYSLER CORP.
Fig 9: Identifying Body Control Module 22-Pin Connector Terminals (JA & JX Body)
G95F14287Courtesy of CHRYSLER CORP.
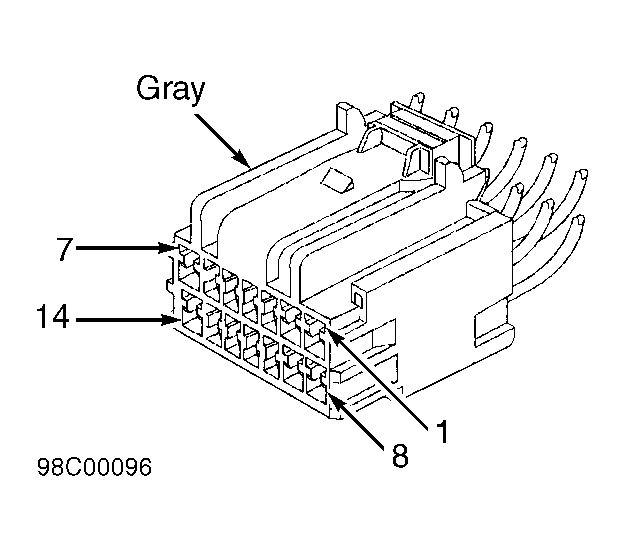
Fig 10: Identifying Body Control Module 14-Pin "C1" Connector Terminals (LH Body)
G98C00096Courtesy of CHRYSLER CORP.
Fig 11: Identifying Body Control Module 24-Pin "C2" Connector Terminals (LH Body)
G98E00097Courtesy of CHRYSLER CORP.
Fig 12: Identifying Body Control Module 12-Pin "C3" Connector Terminals (LH Body)
G98G00098Courtesy of CHRYSLER CORP.
Fig 13: Identifying Body Control Module 16-Pin "C4" Connector Terminals (LH Body)
G98I00099Courtesy of CHRYSLER CORP.
Fig 14: Identifying Body Control Module Connector Terminals (NS Body)
G95F35480Courtesy of CHRYSLER CORP.
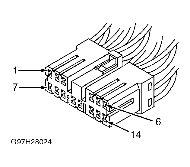
Fig 15: Identifying Central Timer Module "A" (AN, BR & DN Bodies) or "C1" (AB Body) Connector Terminals
G97H28024Courtesy of CHRYSLER CORP.
Fig 16: Identifying Central Timer Module "B" (AN, BR & DN Bodies) or "C2" (AB Body) Connector Terminals
G97I28025Courtesy of CHRYSLER CORP.
Fig 17: Identifying Compass Mini-Trip Computer Connector Terminals (AN, BR & DN Bodies)
G97G28023Courtesy of CHRYSLER CORP.
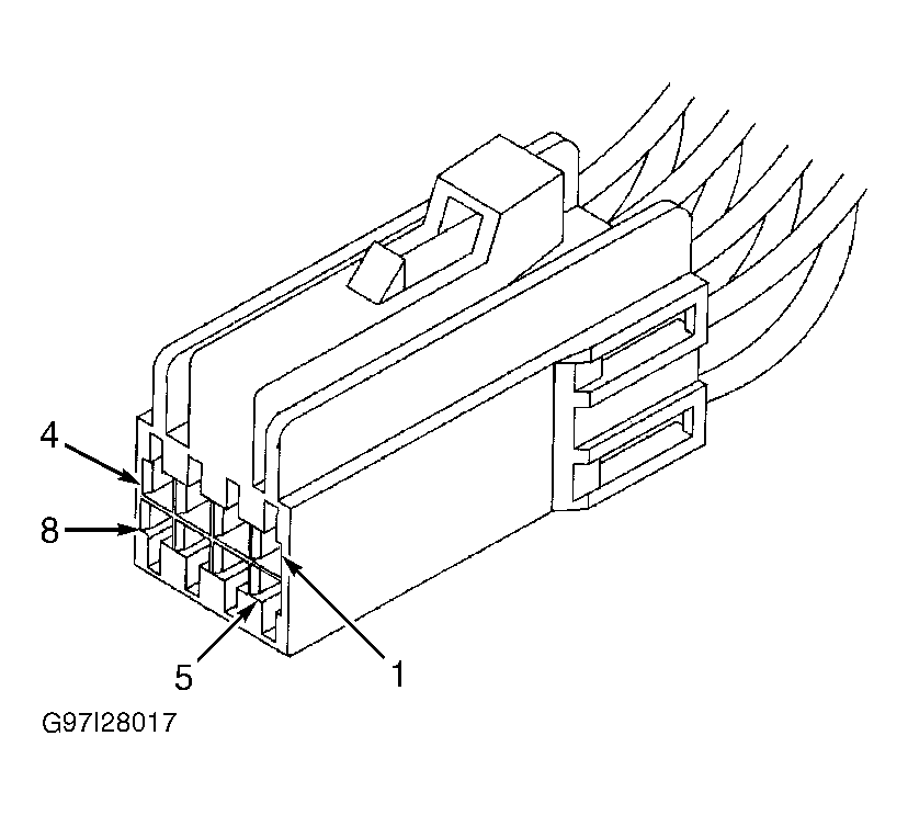
Fig 18: Identifying CMTC Module Connector Terminals (JA & JX Bodies)
G97I28017Courtesy of CHRYSLER CORP.
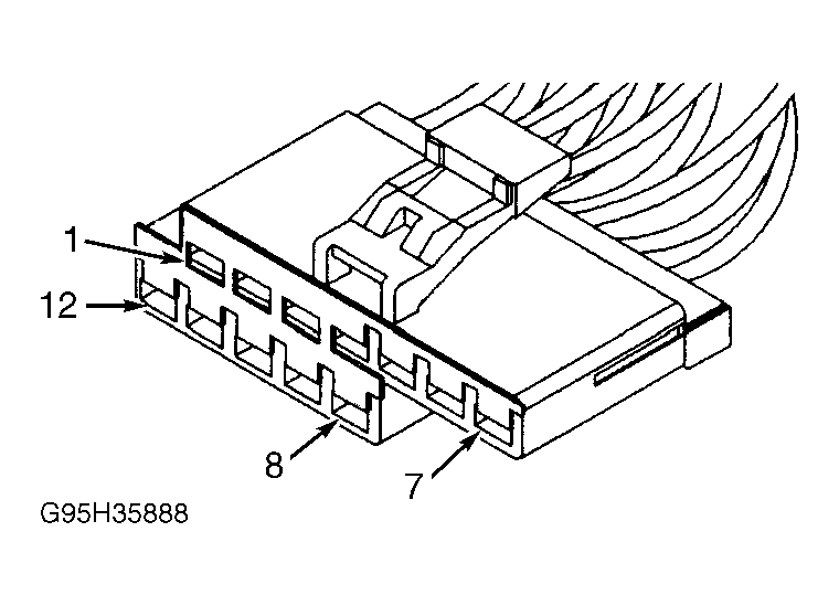
Fig 19: Identifying Compass Mini-Trip Computer (NS Body), Remote Keyless Entry (RKE) Module (NS Body), Power Seat Memory/Heater Switch (LH Body) Connector Terminals
G95F35886Courtesy of CHRYSLER CORP.
Fig 20: Identifying Courtesy Light Relay Connector Terminals (JA & JX Bodies)
G97H28016Courtesy of CHRYSLER CORP.
Fig 21: Identifying Data Link Connector (DLC) Terminals
G95H14289Courtesy of CHRYSLER CORP.
Fig 22: Identifying Door Lock Motor/Ajar Switch Connector Terminals (DN & LH Bodies)
G98B00100Courtesy of CHRYSLER CORP.
Fig 23: Identifying Electrochromic Mirror Connector Terminals (NS Body)
G99J02126Courtesy of CHRYSLER CORP.
Fig 24: Identifying Fuel Pump Connector Terminals (LH Body)
G98C00101Courtesy of CHRYSLER CORP.
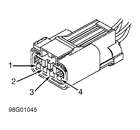
Fig 25: Identifying Fuel Pump Motor Connector Terminals (NS Body)
G98G01045Courtesy of CHRYSLER CORP.
Fig 26: Identifying Fuel Pump Module Connector Terminals (JA & JX Bodies)
G99H02125Courtesy of CHRYSLER CORP.
Fig 27: Identifying Headlight Connector Terminals (Caravan & Voyager)
G98D00102Courtesy of CHRYSLER CORP.
Fig 28: Identifying Headlight 8-Pin Connector Terminals (NS Body)
G95G35887Courtesy of CHRYSLER CORP.
Fig 29: Identifying Headlight Switch Connector Terminals (NS Body) & Information Center Connector Terminals (NS Body)
G95C35891Courtesy of CHRYSLER CORP.
Fig 30: Identifying Headlight Switch Connector Terminals (AB Body)
G98E00103Courtesy of CHRYSLER CORP.
Fig 31: Identifying Headliner Connector Terminals (LH Body)
G98F00104Courtesy of CHRYSLER CORP.
Fig 32: Identifying HVAC Control Module Connector (Blue) Terminals (NS Body)
G95E35893Courtesy of CHRYSLER CORP.
Fig 33: Identifying Ignition Switch Connector Terminals (JA & JX Bodies)
G95B14291Courtesy of CHRYSLER CORP.
Fig 34: Identifying Ignition Switch Connector Terminals (LH Body)
G99B02127Courtesy of CHRYSLER CORP.
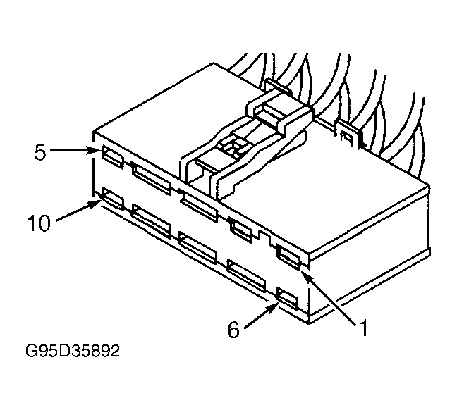
Fig 35: Identifying Ignition Switch Connector Terminals (NS Body)
G95D35892Courtesy of CHRYSLER CORP.
Fig 36: Identifying Instrument Cluster Connector Terminals (JA & JX Bodies)
G95A14290Courtesy of CHRYSLER CORP.
Fig 37: Identifying Instrument Cluster Connector Terminals (All Except JA, JX & NS Bodies)
G95E35901Courtesy of CHRYSLER CORP.
Fig 38: Identifying Instrument Cluster Connector Terminals (NS Body)
G95A35899Courtesy of CHRYSLER CORP.
Fig 39: Identifying Junction Block 6-Pin Connector Terminals (JA & JX Bodies)
G97G28015Courtesy of CHRYSLER CORP.
Fig 40: Identifying Junction Block Connector Terminals (Typical) (NS Body)
G95D35884Courtesy of CHRYSLER CORP.
Fig 41: Identifying Junction Block Internal Connector Terminals (NS Body)
G95F35894Courtesy of CHRYSLER CORP.
Fig 42: Identifying Key-In Ignition Connector Terminals (AN & DN Bodies)
G98G00105Courtesy of CHRYSLER CORP.
Fig 43: Identifying Key-In Ignition Connector Terminals (BR Body)
G94E31728Courtesy of CHRYSLER CORP.
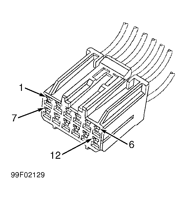
Fig 44: Identifying Memory Heated Seat/Mirror Module (MHSMM) 12-pin Connector Terminals (LH Body)
G99F02129Courtesy of CHRYSLER CORP.
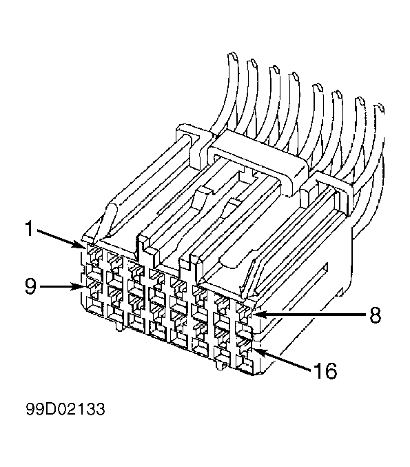
Fig 45: Identifying Memory Heated Seat/Mirror Module (MHSMM) 16-pin Connector Terminals (LH Body)
G99D02133Courtesy of CHRYSLER CORP.
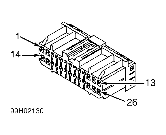
Fig 46: Identifying Memory Heated Seat/Mirror Module (MHSMM) 26-pin Connector Terminals (LH Body)
G99H02130Courtesy of CHRYSLER CORP.
Fig 47: Identifying Memory Mirror Connector Terminals (LH Body)
G99J02131Courtesy of CHRYSLER CORP.
Fig 48: Identifying Multifunction Switch 10-Pin Connector Terminals (JA & JX Bodies)
G97F28014Courtesy of CHRYSLER CORP.
Fig 49: Identifying Multifunction Switch Connector Terminals (AN, BR & DN Bodies)
G98H00106Courtesy of CHRYSLER CORP.
Fig 50: Identifying Multifunction Switch 7-Pin Connector Terminals (JA, JX & LH Bodies)
G93G40614Courtesy of CHRYSLER CORP.
Fig 51: Identifying Multifunction Switch Connector Terminals (NS Body)
G95H35888Courtesy of CHRYSLER CORP.
Fig 52: Identifying Overhead Trip Information System Connector Terminals (LH Body)
G98I00107Courtesy of CHRYSLER CORP.
Fig 53: Identifying Parking Light Connector Terminals (NS Body)
G98J00108Courtesy of CHRYSLER CORP.
Fig 54: Identifying Power Door Lock Module Connector Terminals (AB Body)
G99A02136Courtesy of CHRYSLER CORP.
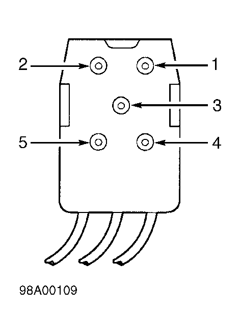
Fig 55: Identifying Power Door Lock Switch Connector Terminals (AB Body)
G98A00109Courtesy of CHRYSLER CORP.
Fig 56: Identifying Power Door Lock/Window Switch Connector Terminals (DN Body)
G99F02134Courtesy of CHRYSLER CORP.
Fig 57: Identifying Power Door Lock/Window Switch Connector Terminals (AN & BR Body)
G98D00110Courtesy of CHRYSLER CORP.
Fig 58: Identifying Power Seat Switch Connector Terminals (LH Body)
G99D02128Courtesy of CHRYSLER CORP.
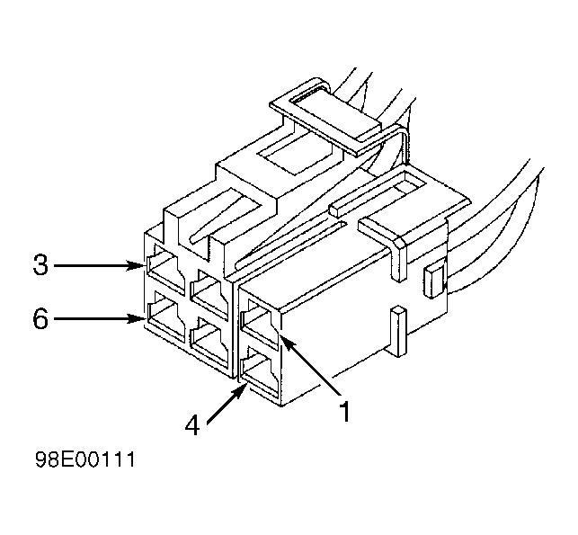
Fig 59: Identifying Power Top Switch Connector Terminals (JX Body)
G98E00111Courtesy of CHRYSLER CORP.
Fig 60: Identifying Powertrain Control Module Connector Terminals (JA, JX, LH & NS Bodies)
G95I12680Courtesy of CHRYSLER CORP.
Fig 61: Identifying Powertrain Control Module Connector Terminals (AB, AN, BR & DN Bodies)
G98B00118Courtesy of CHRYSLER CORP.
Fig 62: Identifying Typical Relay
G98J00090Courtesy of CHRYSLER CORP.
Fig 63: Identifying Relay Center Connector (AN & DN Bodies)
G98F00112Courtesy of CHRYSLER CORP.
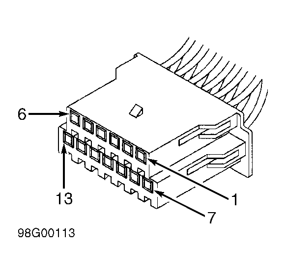
Fig 64: Identifying Seat Belt Module (BR & JX Body)
G98G00113Courtesy of CHRYSLER CORP.
Fig 65: Identifying Sentry Key Imobilizer Module (SKIM) Connector Terminals (JA, JX & LH Bodies)
G99B02132Courtesy of CHRYSLER CORP.
Fig 66: Identifying Steering Column Connector Terminals (AB Body)
G98H00114Courtesy of CHRYSLER CORP.
Fig 67: Identifying Transmission Control Module Connector Terminals
G92I05780Courtesy of CHRYSLER CORP.
Fig 68: Identifying Wiper Motor Connector Terminals (AN & DN Bodies)
G98I00115Courtesy of CHRYSLER CORP.
Fig 69: Identifying Wiper Motor Connector Terminals (BR Body)
G98J00116Courtesy of CHRYSLER CORP.
Fig 70: Identifying Wiper Motor Connector Terminals (JA & JX Bodies)
G95D14293Courtesy of CHRYSLER CORP.
Fig 71: Identifying Wiper Motor Connector Terminals (LH Body)
G98A00117Courtesy of CHRYSLER CORP.
Fig 72: Identifying Wiper Motor Connector Terminals (NS Body)
G95I35889Courtesy of CHRYSLER CORP.