LEMON Manuals: Even more car manuals for everyone
Home >> Chrysler >> 1995 >> LeBaron >> Repair and Diagnosis >> Engine Performance >> System >> Engine Controls - Tests W/Codes - Body Control Computer >> Connector Identification >> Body Control System Connectors

Body Control System Connectors

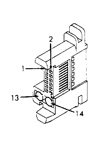
NOTE: For terminal identification of body control system connectors, see Fig 1-28. Connector terminal numbers are molded into connectors. If connector terminal identification differs from that shown in figure, use wire colors to ensure correct circuit is being tested. For wiring diagrams, see WIRING DIAGRAMS - 3.0L article in ENGINE PERFORMANCE.
Fig 1: Identifying Body Control Module Black Connector Terminals
G95A14282Courtesy of CHRYSLER CORP.
Fig 2: Identifying Body Control Module Natural Connector Terminals
G95B14283Courtesy of CHRYSLER CORP.
Fig 3: Identifying Body Control Module Connector Terminals
G92G05755Courtesy of CHRYSLER CORP.
Fig 4: Identifying Brakelight Switch Connector Terminals
G93I40590Courtesy of CHRYSLER CORP.
Fig 5: Identifying Data Link Connector (DLC) Terminals
G93J40591Courtesy of CHRYSLER CORP.
Fig 6: Identifying Compass/Temperature Connector Terminals
G92C05758Courtesy of CHRYSLER CORP.
Fig 7: Identifying Door Lock Switch Connector Terminals
G93E40604Courtesy of CHRYSLER CORP.
Fig 8: Identifying Instrument Cluster Connector Terminals
G95A14290Courtesy of CHRYSLER CORP.
Fig 9: Identifying Engine Node Connector Terminals
G92I01522Courtesy of CHRYSLER CORP.
Fig 10: Identifying Fuel Tank Sending Unit Connector Terminals
G92I05761Courtesy of CHRYSLER CORP.
Fig 11: Identifying Ignition Switch Connector Terminals
G93G40606Courtesy of CHRYSLER CORP.
Fig 12: Identifying Illuminated Entry Switch Connector Terminals
G92J05766Courtesy of CHRYSLER CORP.
Fig 13: Identifying Key-In Light Connector Terminals
G93I40608Courtesy of CHRYSLER CORP.
Fig 14: Identifying Left Side Pod Switch Connector Terminals
G92F05769Courtesy of CHRYSLER CORP.
Fig 15: Identifying Light Outage Module 14-Pin Connector Terminals
G92J05785Courtesy of CHRYSLER CORP.
Fig 16: Identifying Light Outage Module 5-Pin Connector Terminals
G92J05771Courtesy of CHRYSLER CORP.
Fig 17: Identifying Oil Pressure Switch/Sending Unit & Ambient Temperature Sensor Connector Terminals
G92I05775Courtesy of CHRYSLER CORP.
Fig 18: Identifying Powertrain Control Module & Transmission Control Module Connector Terminals
G92I05780Courtesy of CHRYSLER CORP.
Fig 19: Identifying Powertrain Control Module
G95I12680Courtesy of CHRYSLER CORP.
Fig 20: Identifying Relay Connector Terminals
G92C05763Courtesy of CHRYSLER CORP.
Fig 21: Identifying Remote Keyless Entry (RKE) Module Connector Terminals
G95C14292Courtesy of CHRYSLER CORP.
Fig 22: Identifying Right Side Pod Switch Connector Terminals
G92E05778Courtesy of CHRYSLER CORP.
Fig 23: Identifying Seat Belt Switch Connector Terminals
G92G05779Courtesy of CHRYSLER CORP.
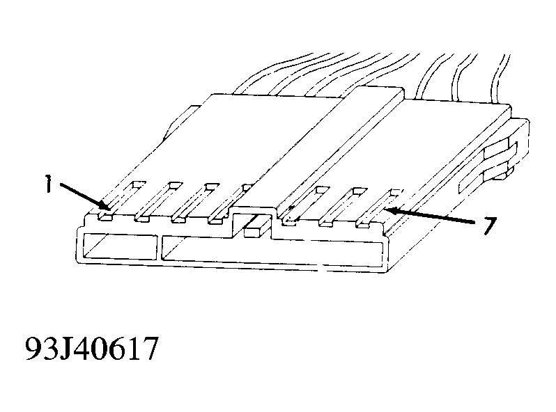
Fig 24: Identifying Traveler & Electronic Vehicle Information Center (EVIC) Connector Terminals
G93J40617Courtesy of CHRYSLER CORP.
Fig 25: Identifying Vehicle Theft Security System Module Connector Terminals
G92E05783Courtesy of CHRYSLER CORP.
Fig 26: Identifying Visual Message Center, Light Outage Module, & Instrument Cluster Connector Terminals
G92J05785Courtesy of CHRYSLER CORP.
Fig 27: Identifying Wiper Motor Connector Terminals
G95D14293Courtesy of CHRYSLER CORP.