LEMON Manuals: Even more car manuals for everyone
Home >> Chrysler >> 1995 >> Cirrus LXi >> Repair and Diagnosis >> Engine Performance >> System >> Engine Controls - Tests W/Codes - Body Control Computer >> Connector Identification >> Body Control System Connectors

Body Control System Connectors

NOTE: For terminal identification of body control system connectors, see Fig 1 -11. Connector terminal numbers are molded into connectors. If connector terminal identification differs from that shown in figure, use wire colors to ensure correct circuit is being tested. For wiring diagrams, see appropriate article in ENGINE PERFORMANCE:

WIRING DIAGRAMS - 2.0L & 2.4L

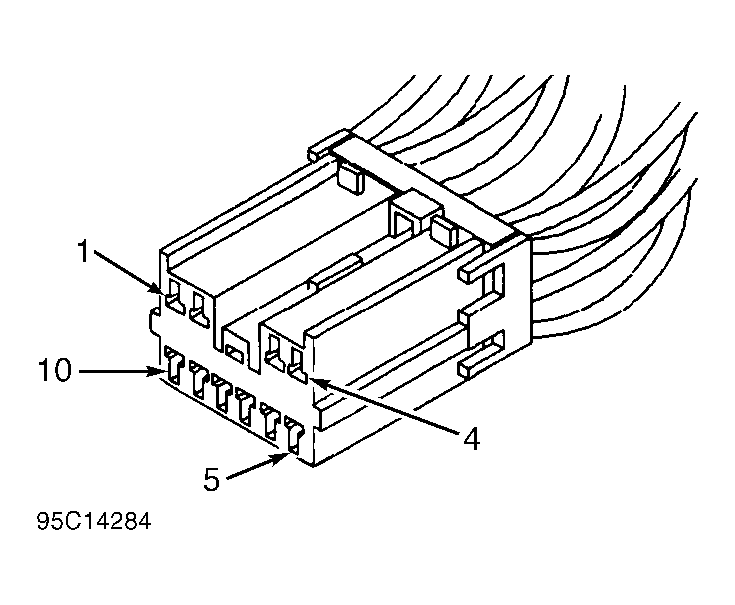
Fig 1: Identifying Body Control Module 10-Pin Connector Terminals
G95C14284Courtesy of CHRYSLER CORP.
Fig 2: Identifying Body Control Module 14-Pin Connector Terminals
G95D14285Courtesy of CHRYSLER CORP.
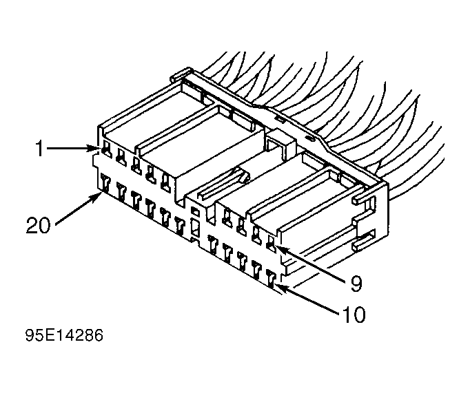
Fig 3: Identifying Body Control Module 20-Pin Connector Terminals
G95E14286Courtesy of CHRYSLER CORP.
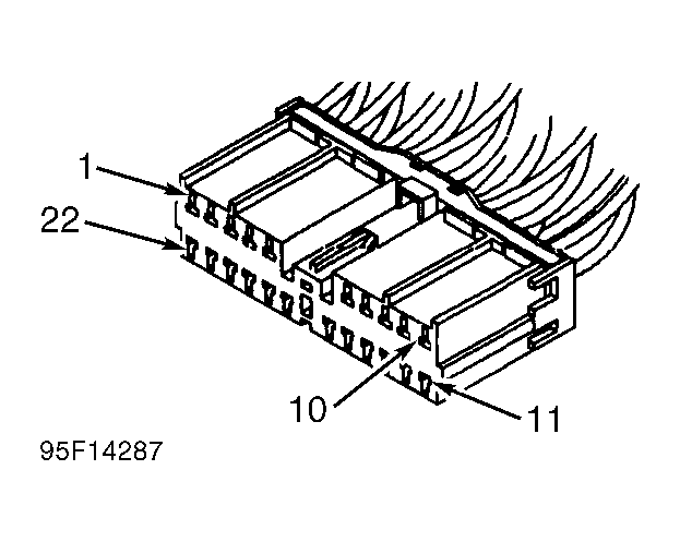
Fig 4: Identifying Body Control Module 22-Pin Connector Terminals
G95F14287Courtesy of CHRYSLER CORP.
Fig 5: Identifying Data Link Connector (DLC) Terminals
G95H14289Courtesy of CHRYSLER CORP.
Fig 6: Identifying Instrument Cluster Connector Terminals
G95A14290Courtesy of CHRYSLER CORP.
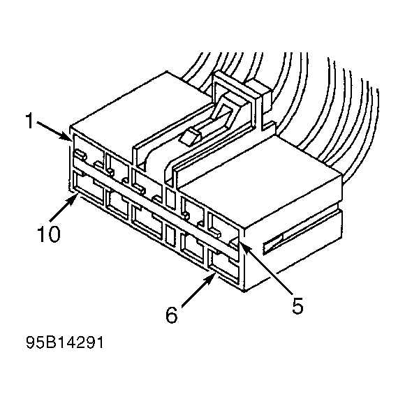
Fig 7: Identifying Ignition Switch Connector Terminals
G95B14291Courtesy of CHRYSLER CORP.
Fig 8: Identifying Multifunction Switch 7-Pin Connector Terminals
G93G40614Courtesy of CHRYSLER CORP.
Fig 9: Identifying Powertrain Control Module
G95I12680Courtesy of CHRYSLER CORP.
Fig 10: Identifying Wiper Motor Connector Terminals
G95D14293Courtesy of CHRYSLER CORP.