LEMON Manuals: Even more car manuals for everyone
Home >> Chrysler >> 1994 >> LeBaron GTC >> Repair and Diagnosis >> Engine Performance >> System >> Engine Controls - Tests W/Codes - Body Control Computer (Convert) >> Connector Identification >> Body Control System Connectors

Body Control System Connectors

NOTE: For terminal identification of body control system connectors, see Fig 1 -Fig 25 . Connector terminal numbers are molded into connectors. If connector terminal identification differs from that shown in figure, use wire colors to ensure correct circuit is being tested. For wiring diagrams, see WIRING DIAGRAMS  .
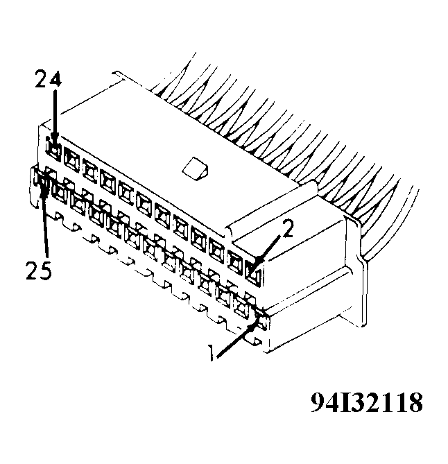
Fig 1: Body Control Module Black Connector Terminal ID
G94I32118Courtesy of CHRYSLER CORP.
Fig 2: Body Control Module Natural/Red Connector Terminal ID
G94J32119Courtesy of CHRYSLER CORP.
Fig 3: Brakelight Bulb Socket Terminal ID
G92G05755Courtesy of CHRYSLER CORP.
Fig 4: Brakelight Switch & EVIC Connector Terminal ID
G93I40590Courtesy of CHRYSLER CORP.
Fig 5: Data Link Connector (DLC) Terminal ID
G93J40591Courtesy of CHRYSLER CORP.
Fig 6: Compass/Temperature Connector Terminal ID
G92C05758Courtesy of CHRYSLER CORP.
Fig 7: Electronic Instrument Cluster Connector Terminal ID
G93C40594Courtesy of CHRYSLER CORP.
Fig 8: Engine Node Connector Terminal ID
G92I01522Courtesy of CHRYSLER CORP.
Fig 9: Fuel Tank Sending Unit Connector Terminal ID
G92I05761Courtesy of CHRYSLER CORP.
Fig 10: Relay Connector Terminal ID
G92C05763Courtesy of CHRYSLER CORP.
Fig 11: Door Lock Switch Connector Terminal ID
G93E40604Courtesy of CHRYSLER CORP.
Fig 12: Illuminated Entry Switch Connector Terminal ID
G92J05766Courtesy of CHRYSLER CORP.
Fig 13: Ignition Switch Connector Terminal ID
G93G40606Courtesy of CHRYSLER CORP.
Fig 14: Key-In Light Connector Terminal ID
G93I40608Courtesy of CHRYSLER CORP.
Fig 15: Left Side Pod Switch Connector Terminal ID
G92F05769Courtesy of CHRYSLER CORP.
Fig 16: Light Outage Module 14-Pin Connector Terminal ID
G92J05785Courtesy of CHRYSLER CORP.
Fig 17: Light Outage Module 5-Pin Connector Terminal ID
G92J05771Courtesy of CHRYSLER CORP.
Fig 18: Oil Pressure Switch/Sending Unit & Ambient Temperature Sensor Connector Terminal ID
G92I05775Courtesy of CHRYSLER CORP.
Fig 19: Right Side Pod Switch Connector Terminal ID
G92E05778Courtesy of CHRYSLER CORP.
Fig 20: Seat Belt Switch Connector Terminal ID
G92G05779Courtesy of CHRYSLER CORP.
Fig 21: PCM TCM Connector Terminal ID
G92I05780Courtesy of CHRYSLER CORP.
Fig 22: Traveler & EVIC Connector Terminal ID
G93J40617Courtesy of CHRYSLER CORP.
Fig 23: Vehicle Theft Security System Module Connector Terminal ID
G92E05783Courtesy of CHRYSLER CORP.
Fig 24: Light Outage Module, Visual Message Center & Instrument Cluster Connector Terminal ID
G92J05785Courtesy of CHRYSLER CORP.
Fig 25: Wiper Motor Connector Terminal ID
G92D05787Courtesy of CHRYSLER CORP.