LEMON Manuals: Even more car manuals for everyone
Home >> Chrysler >> 1994 >> LHS >> Repair and Diagnosis >> External Pages >> Different car >> Section 14 (Traveler Module) >> Connector Identification

Connector Identification

WARNING: This page is about a different car, the 1994 Plymouth Acclaim, 1994 Dodge Spirit, and 1994 Chrysler LeBaron. However, it is still accessible from the selected car via links, so may be relevant.
Fig 1: Data Link Connector Terminal ID
G93J40591Courtesy of CHRYSLER CORP.
Fig 2: Electronic Instrument Cluster Blue/Red 13-Pin Conn. Term. ID
G93I40780Courtesy of CHRYSLER CORP.
Fig 3: Headlight Switch 9-Pin Connector Terminal ID
G93J40781Courtesy of CHRYSLER CORP.
Fig 4: Ignition Switch 7-Pin Connector Terminal ID
G94B31816Courtesy of CHRYSLER CORP.
Fig 5: Instrument Cluster Black 11-Pin Connector Terminal ID
G93F40779Courtesy of CHRYSLER CORP.
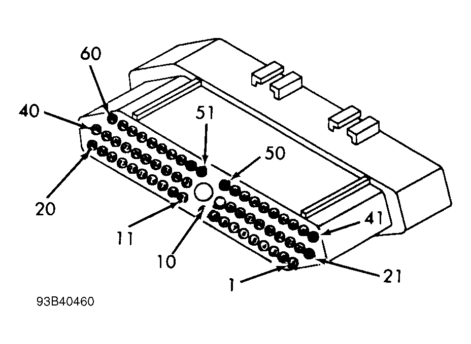
Fig 6: Powertrain Control Module Terminal ID
G93B40460Courtesy of CHRYSLER CORP.
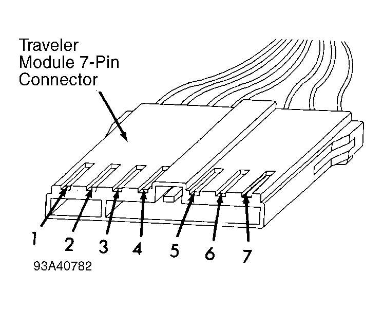
Fig 7: Traveler Module 7-Pin Connector Terminal ID
G93A40782Courtesy of CHRYSLER CORP.
Fig 8: Visual Message Center Connector Terminal ID
G92A03541Courtesy of CHRYSLER CORP.