LEMON Manuals: Even more car manuals for everyone
Home >> Chrysler >> 1982 >> Imperial >> Repair and Diagnosis >> General Information >> Basic Trouble Shooting >> Semi-Automatic Temperature Control >> Testing >> Electronic SATC Testing >> Electrical Continuity Testing

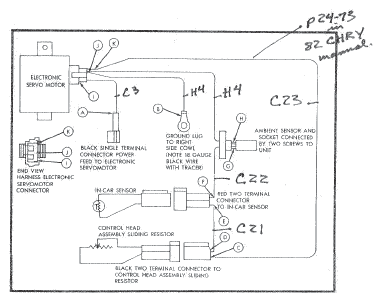
Electrical Continuity Testing

  1. Glove box and right side cowl trim panel must be removed to expose SATC wiring harness. Ensure that no bare wires or contacts are grounded when power is applied. Check harness for proper wiring color codes and good connections. See Figure. Perform the following tests with an ohmmeter or self-contained, battery operated test light.
    CAUTION: Do NOT apply external 12 volt source or vehicle power to system when testing.
  2. Check continuity between test points "B" and "F". See Figure. If test lamp glows and resistance is less than 150 ohms, proceed to step 3). If no test lamp or more than 150 ohms resistance, proceed to step  4).
  3. Remove ambient sensor from socket. If test lamp glows or resistance is less than 5, 000 ohms when testing between points "B" and "F", check for shorted circuit C22; if not, test ambient sensor.
  4. Remove ambient sensor socket from unit and place jumper across sensor lead with sensor in socket, if test lamp does not glow or resistance is high between points "B" and "F", proceed to step 5) If test lamp glows or no resistance is indicated between points "B" and "F", proceed to step  6).
  5. Test between points "C" and "F". If lamp glows or no resistance is indicated, check for open in circuit H4. If no lamp or high resistance is indicated, check for open in circuit C22.
  6. Test in-car sensor and ambient sensor assembly and replace as required. For further circuit testing, check for open or grounded circuits as illustrated in Figure.