LEMON Manuals: Even more car manuals for everyone
Home >> Chevrolet >> 2022 >> Traverse Premier, FWD >> Repair and Diagnosis >> External Pages >> Different car >> Section 8 (Component Connector End Views (K71-M6L)) >> Component Connector End Views >> K115 Reductant Control Module X1

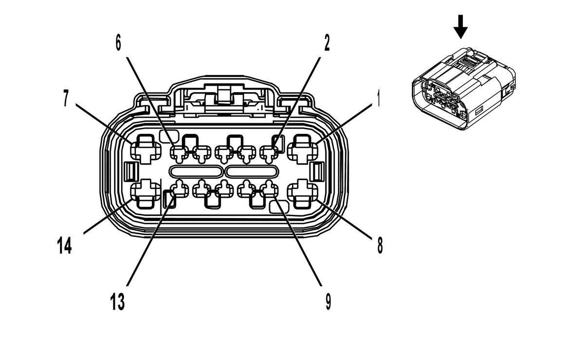
K115 Reductant Control Module X1

WARNING: This page is about a different car, the 2022 Cadillac XT4. However, it is still accessible from the selected car via links, so may be relevant.
GM2750642Courtesy of GENERAL MOTORS COMPANY
Connector Part Information
  • Harness Type: Body Wiring Harness
  • OEM Connector: 35319804
  • Service Connector: 87831185
  • Description: 14-Way F 1.5, 2.8 APEX Series, Sealed (BK)
Terminal Part Information

Terminal Type ID Terminated Lead Diagnostic Test Probe Terminal Removal Tool
I 13579988 J-35616-35 (VT) J-38125-12A
II 13588901 J-35616-2A (GY) J-38125-215A
Pin Size Color Circuit Function Terminal Type ID Option
1 2 BK 2350 Ground I -
2 0.5 VT / GY 139 Run/Crank Ignition 1 Voltage II -
3 0.5 BU 2500 High Speed GMLAN Serial Data [+] 1 II -
4 0.5 BU 2500 High Speed GMLAN Serial Data [+] 1 II -
5 0.5 BU / BN 4498 High Speed GMLAN Serial Data [+] 7 II -
6 0.5 BU / BN 4498 High Speed GMLAN Serial Data [+] 7 II -
7 2 BU 3921 Diesel Exhaust Fluid Heater Control 1 I -
8 0.75 VT / YE 5985 Accessory Wake-Up Serial Data II -
9 0.75 VT / BU 3674 NOx Sensor 1 Control II -
10 0.5 WH 2501 High Speed GMLAN Serial Data [-] 1 II -
11 0.5 WH 2501 High Speed GMLAN Serial Data [-] 1 II -
12 0.5 WH 4499 High Speed GMLAN Serial Data [-] 7 II -
13 0.5 WH 4499 High Speed GMLAN Serial Data [-] 7 II -
14 0.75 RD / GN 3840 Battery Positive Voltage II -