LEMON Manuals: Even more car manuals for everyone
Home >> Chevrolet >> 2022 >> Traverse Premier, FWD >> Repair and Diagnosis >> External Pages >> Different car >> Section 2 (Component Connector End Views (B10B-B131B)) >> Component Connector End Views >> B10B Ambient Light/Sunload Sensor

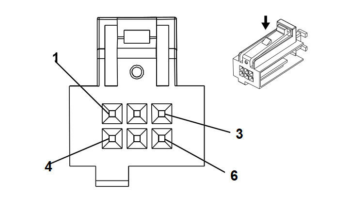
B10B Ambient Light/Sunload Sensor

WARNING: This page is about a different car, the 2022 Cadillac XT4. However, it is still accessible from the selected car via links, so may be relevant.
GM2220563Courtesy of GENERAL MOTORS COMPANY
Connector Part Information
  • Harness Type: Instrument Panel Wiring Harness
  • OEM Connector: 10779302
  • Service Connector: 85587649
  • Description: 6-Way F Micro-Quadlock Series (BK)
Terminal Part Information

Terminal Type ID Terminated Lead Diagnostic Test Probe Terminal Removal Tool
I Not required J-35616-64B (L-BU) No Tool Required
Pin Size Color Circuit Function Terminal Type ID Option
1 0.5 YE / VT 1783 Ambient Light Sensor Signal I -
2 - - - Not Occupied - -
3 0.13 WH 278 Ambient Light Sensor Signal I -
4 0.5 BU / WH 734 Inside Air Temperature Sensor Signal I -
5 0.13 GY 728 Security Indicator Control I -
6 0.13 BN 7567 Solar Sensor Low Reference I -