LEMON Manuals: Even more car manuals for everyone
Home >> Chevrolet >> 2022 >> Traverse Premier, FWD >> Repair and Diagnosis >> External Pages >> Different car >> Section 11 (Component Connector End Views (S2R-T3 (X2))) >> Component Connector End Views >> S45B Liftgate Control Switch - Interior

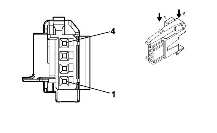
S45B Liftgate Control Switch - Interior

WARNING: This page is about a different car, the 2022 Cadillac XT4. However, it is still accessible from the selected car via links, so may be relevant.
GM5191926Courtesy of GENERAL MOTORS COMPANY
Connector Part Information
  • Harness Type: Front Side Door Lock and Power Window and Outside Rearview Mirror Wiring Harness - Driver
  • OEM Connector: 33358011
  • Service Connector: Service by Harness - See Part Catalog
  • Description: 4-Way F 0.64 Micro-Quadlock Series (BK)
Terminal Part Information

Terminal Type ID Terminated Lead Diagnostic Test Probe Terminal Removal Tool
I Not required J-35616-64B (L-BU) No Tool Required
Pin Size Color Circuit Function Terminal Type ID Option
1 0.35 BK 2150 Ground I -
2 0.35 YE 6817 LED Backlight Dimming Control 1 I -
3 0.35 GN 6112 Liftgate Mode Switch Signal I -
4 0.35 GY / BK 6113 Exterior Liftgate Control Switch Signal I -