LEMON Manuals: Even more car manuals for everyone
Home >> Chevrolet >> 2021 >> Traverse Premier, FWD >> Repair and Diagnosis >> External Pages >> Different car >> Section 161 (Component Connector End Views (K39-K108)) >> Component Connector End Views >> K77 Remote Control Door Lock Receiver

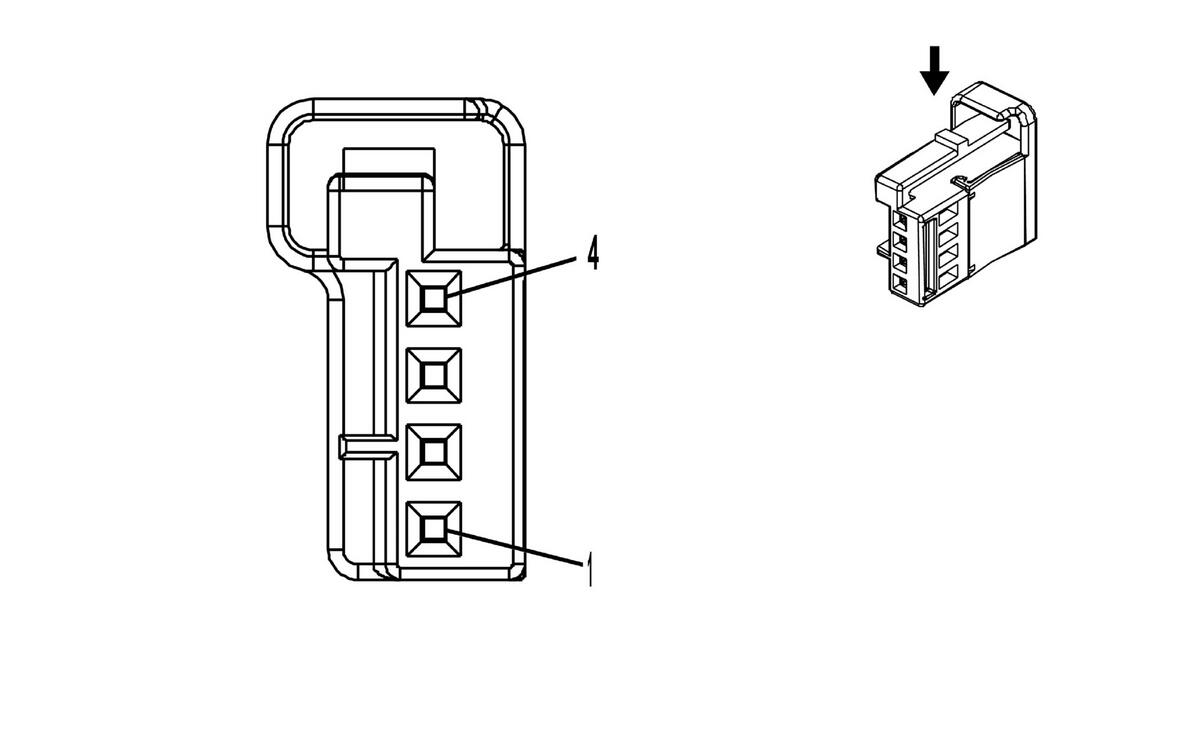
K77 Remote Control Door Lock Receiver

WARNING: This page is about a different car, the 2022 GMC Terrain and 2022 Chevrolet Equinox. However, it is still accessible from the selected car via links, so may be relevant.
GM3825634Courtesy of GENERAL MOTORS COMPANY
Connector Part Information
  • Harness Type:Body Wiring Harness
  • OEM Connector: 13365028
  • Service Connector: 19371213
  • Description: 4 -Way F 0.64 Micro-Quadlock Series, Sealed(BU)
Terminal Part Information

Terminal Type ID Terminated Lead Diagnostic Test Probe Terminal Removal Tool
I Not required J-35616-64B (LT BU) No Tool Required
Pin Size Color Circuit Function Terminal Type ID Option
1 0.35 BK 1950 Ground I -
2 0.35 YE / GN 3274 Remote Control Door Lock Receiver Transmit Signal I -
3 0.35 BU / WH 3275 Remote Control Door Lock Receiver Receive Signal I -
4 0.35 GY / WH 3272 Remote Control Door Lock Receiver Control I -