K17 Electronic Brake Control Module
WARNING: This page is about a different car, the 2017 Chevrolet Spark. However, it is still accessible from the selected car via links, so may be relevant.
|
|
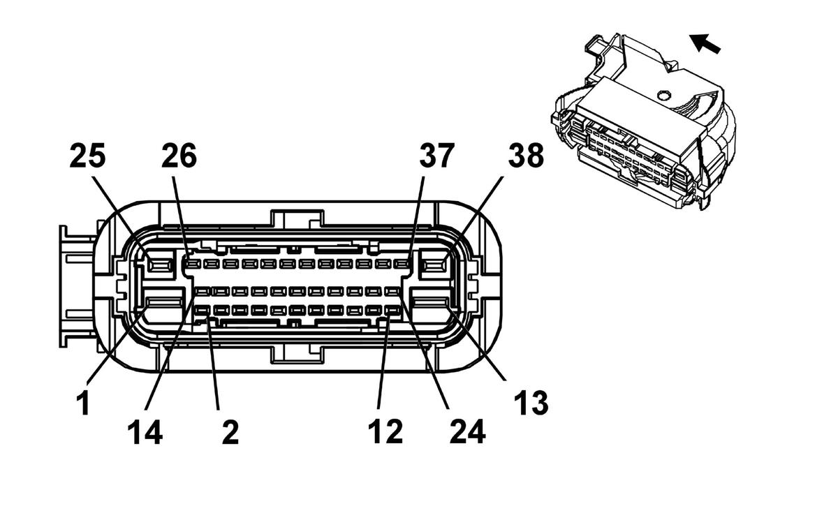
Connector Part Information
- Harness Type: Body
- OEM Connector: 2112502-1
- Service Connector: 19331442
- Description: 38-Way F 1.5, 2.8, 4.8, 6.3 MCP Series, Sealed (BK)
|
Terminal Part Information
| Terminal Type ID |
Terminated Lead |
Diagnostic Test Probe |
Terminal Removal Tool |
Service Terminal |
Tray Name |
Core Crimp |
Insulation Crimp |
| I |
13575368 |
J-35616-35 (VT) |
J-38125-557 |
1-968857-3 |
Lear 7 |
C |
1 |
| II |
13582180 |
J-35616-14 (GN) |
J-38125-560 |
1241374-1 |
Lear 17 |
E |
2 |
| III |
19353348 |
J-35616-14 (GN) |
J-38125-560 |
1241374-1 |
Lear 17 |
E |
2 |
| IV |
19353349 |
J-35616-40 (BU) |
J-38125-556 |
1241408-1 |
Lear 28 |
B |
G |
| Pin |
Size |
Color |
Circuit |
Function |
Terminal Type ID |
Option |
| 1 |
4 |
RD/GN |
40 |
Battery Positive Voltage |
IV |
JM4 |
| 2 - 3 |
- |
- |
- |
Not Occupied |
- |
- |
| 4 |
0.5 |
YE |
872 |
Wheel Speed Sensor Signal Right Front |
II |
JM4 |
| 5 |
- |
- |
- |
Not Occupied |
- |
- |
| 6 |
0.5 |
GN/GY |
333 |
Brake Fluid Level Sensor Signal |
II |
JM4 |
| 7 |
0.5 |
GN/GY |
333 |
Brake Fluid Level Sensor Signal |
II |
JM4 |
| 8 |
0.5 |
GY |
830 |
Wheel Speed Sensor Signal Left Front |
II |
JM4 |
| 9 - 12 |
- |
- |
- |
Not Occupied |
- |
- |
| 13 |
4 |
BK |
250 |
Ground |
IV |
JM4 |
| 14 |
0.5 |
WH |
2501 |
High Speed GMLAN Serial Data (-) 1 |
II |
JM4 |
| 15 |
0.5 |
WH |
2501 |
High Speed GMLAN Serial Data (-) 1 |
II |
- |
| 16 |
0.5 |
GY/BN |
7065 |
Wheel Speed Sensor Control Right Front |
II |
JM4 |
| 17 |
0.5 |
GY/YE |
7128 |
Wheel Speed Sensor Control Right Rear |
II |
JM4 |
| 18 |
0.5 |
BU |
884 |
Wheel Speed Sensor Signal Left Rear |
II |
JM4 |
| 19 |
0.5 |
GY/WH |
7064 |
Wheel Speed Sensor Control Left Front |
II |
JM4 |
| 20 |
0.5 |
WH |
6106 |
High Speed GMLAN Serial Data (-) 2 |
II |
FX3 |
| 21 - 24 |
- |
- |
- |
Not Occupied |
- |
- |
| 25 |
2.5 |
RD/YE |
240 |
Battery Positive Voltage |
I |
JM4 |
| 26 |
0.5 |
BU |
2500 |
High Speed GMLAN Serial Data (+) 1 |
II |
JM4 |
| 27 |
0.5 |
BU |
2500 |
High Speed GMLAN Serial Data (+) 1 |
II |
- |
| 28 |
0.35 |
WH/BU |
5986 |
Serial Data Communication Enable |
III |
JM4 |
| 29 |
0.5 |
VT |
882 |
Wheel Speed Sensor Signal Right Rear |
II |
JM4 |
| 30 |
- |
- |
- |
Not Occupied |
- |
- |
| 31 |
0.5 |
GY/BK |
7127 |
Wheel Speed Sensor Control Left Rear |
II |
JM4 |
| 32 |
- |
- |
- |
Not Occupied |
- |
- |
| 33 |
0.5 |
BU/YE |
6105 |
High Speed GMLAN Serial Data (+) 2 |
II |
FX3 |
| 34 - 37 |
- |
- |
- |
Not Occupied |
- |
- |
| 38 |
2.5 |
BK |
250 |
Ground |
I |
JM4 |