LEMON Manuals: Even more car manuals for everyone
Home >> Chevrolet >> 2019 >> Traverse L >> Repair and Diagnosis (Single Page) >> Quick Lookups >> Wiring Diagrams >> Component Connector End Views (A3L-B80) >> Component Connector End Views >> B71R Liftgate Object Sensor - Right (TB5/TC2)

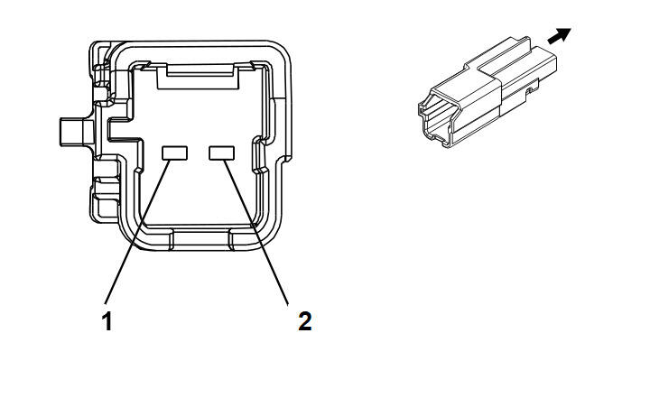
B71R Liftgate Object Sensor - Right (TB5/TC2)

GM4116496Courtesy of GENERAL MOTORS COMPANY
Connector Part Information
  • Harness Type: Liftgate
  • OEM Connector: 13588641
  • Service Connector: Service by Harness - See Part Catalog
  • Description: 2-Way M 1.2 Series (BK)
Terminal Part Information

Terminal Type ID Terminated Lead Diagnostic Test Probe Terminal Removal Tool Service Terminal Tray Name Core Crimp Insulation Crimp
I Not Required J-35616-17 (LT GN) No Tool Required Not Required Not Required Not Required Not Required
Pin Size Color Circuit Function Terminal Type ID Option
1 0.5 GY/BK 5802 Lift Gate Object Sensor Signal I TB5/TC2
2 0.5 BK/VT 5801 Lift Gate Object Sensor Low Reference I TB5/TC2