T6 Power Inverter Module X1
WARNING: This page is about a different car, the 2018 Chevrolet Bolt EV. However, it is still accessible from the selected car via links, so may be relevant.
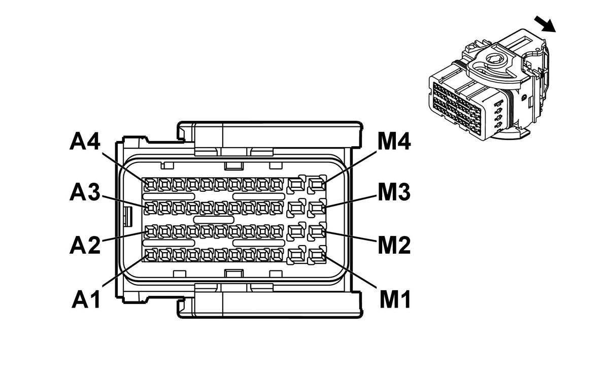
Courtesy of GENERAL MOTORS COMPANY
|
Connector Part Information
- Harness Type: Engine
- OEM Connector: 98993-5021
- Service Connector: 19354859
- Description: 48-Way F 0.6, 1.5 Sealed, Series (BK)
|
Terminal Part Information
| Terminal Type ID |
Terminated Lead |
Diagnostic Test Probe |
Terminal Removal Tool |
Service Terminal |
Tray Name |
Core Crimp |
Insulation Crimp |
| I |
19354833 |
J-35616-64B (LT BU) |
J-38125-215A |
Not Available |
Not Available |
Not Available |
Not Available |
| II |
19354834 |
J-35616-64B (LT BU) |
J-38125-215A |
Not Available |
Not Available |
Not Available |
Not Available |
| III |
19354835 |
J-35616-2A (GY) |
J-38125-215A |
Not Available |
Not Available |
Not Available |
Not Available |
| Pin |
Size |
Color |
Circuit |
Function |
Terminal Type ID |
Option |
| 1A - 4M |
- |
- |
- |
Not Occupied |
- |
- |
| B1 |
0.75 |
WH/GN |
7648 |
Traction Power Inverter Module Traction Power Inverter Module Resolver 1 Excitation Signal Negative |
I |
- |
| B2 |
0.75 |
BU |
7645 |
Traction Power Inverter Module Resolver 1 Excitation Signal Positive |
I |
- |
| B4 |
0.5 |
VT/WH |
5981 |
PRNDL A Signal |
II |
- |
| C1 |
0.75 |
BN |
7652 |
Traction Power Inverter Module Resolver 1 S3 Signal |
I |
- |
| C2 |
0.75 |
YE |
7649 |
Traction Power Inverter Module Resolver 1 S1 Signal |
I |
- |
| C3 |
0.5 |
GY/BN |
5982 |
PRNDL B Signal |
II |
- |
| C4 |
0.5 |
GY/WH |
4168 |
PRNDL P Signal |
II |
- |
| D1 |
0.75 |
GY |
7646 |
Transmission Traction Power Inverter Module Resolver 1 S4 Signal |
I |
- |
| D2 |
0.75 |
VT/GN |
7647 |
Transmission Traction Power Inverter Module Resolver 1 S2 Signal |
I |
- |
| D3 |
0.5 |
WH/BK |
5983 |
PRNDL C Signal |
II |
- |
| D4 |
0.5 |
GY/YE |
4169 |
PRNDL S Signal |
II |
- |
| E3 |
0.5 |
WH |
2501 |
High Speed GMLAN Serial Data (-) 1 |
II |
- |
| E4 |
0.5 |
BU |
2500 |
High Speed GMLAN Serial Data (+) 1 |
II |
- |
| F1 |
0.5 |
GY/BK |
2967 |
Transmission Auxiliary Oil Pump Relay Control |
II |
- |
| F2 |
0.5 |
GY/BU |
4324 |
Transmission Auxiliary Pump Feedback Signal |
II |
- |
| F3 |
0.5 |
WH |
2501 |
High Speed GMLAN Serial Data (-) 1 |
II |
- |
| F4 |
0.5 |
BU |
2500 |
High Speed GMLAN Serial Data (+) 1 |
II |
- |
| G1 |
0.5 |
BK/VT |
5596 |
High Voltage Interlock Loop Low Reference 2 |
II |
- |
| G2 |
0.5 |
YE |
5690 |
High Voltage Interlock Loop Signal 3 |
II |
- |
| G3 |
0.5 |
WH |
7494 |
High Speed GMLAN Serial Data (-)3 |
II |
- |
| G4 |
0.5 |
BU/BK |
7493 |
High Speed GMLAN Serial Data (+)3 |
II |
- |
| H1 |
0.5 |
BN/WH |
585 |
Transmission Oil Temperature Sensor Signal |
II |
- |
| H2 |
0.5 |
BK/BN |
586 |
Transmission Oil Temperature Sensor Low Reference |
II |
- |
| H3 |
0.5 |
WH |
7494 |
High Speed GMLAN Serial Data (-)3 |
II |
- |
| H4 |
0.5 |
BU/BK |
7493 |
High Speed GMLAN Serial Data (+)3 |
II |
- |
| J1 |
0.5 |
WH/BU |
7653 |
Traction Power Inverter Motor 1 Temperature Sensor Signal |
II |
- |
| J2 |
0.5 |
GN |
7654 |
Traction Power Inverter Motor 1 Temperature Sensor Low Reference |
II |
- |
| J3 |
0.5 |
WH |
6106 |
High Speed GMLAN Serial Data (-) 2 |
II |
- |
| J4 |
0.5 |
BU/YE |
6105 |
High Speed GMLAN Serial Data (+) 2 |
II |
- |
| K2 |
0.5 |
BK |
150 |
Ground |
II |
- |
| L1 |
0.5 |
YE/BU |
3992 |
Internal Mode Switch Voltage Supply A |
III |
- |
| L3 |
0.5 |
VT/GY |
1439 |
Run/Crank Ignition 1 Voltage |
III |
- |
| L4 |
0.5 |
VT/BU |
3991 |
Internal Mode Switch Voltage Supply B |
III |
- |
| M1 |
0.5 |
RD/VT |
340 |
Battery Positive Voltage |
III |
- |
| M2 |
0.5 |
BU/WH |
3977 |
Accessory Wakeup Serial Data 2 |
III |
- |
| M4 |
0.5 |
RD/YE |
240 |
Battery Positive Voltage |
III |
- |