LEMON Manuals: Even more car manuals for everyone
Home >> Chevrolet >> 2017 >> Traverse LT, AWD >> Repair and Diagnosis >> External Pages >> Different car >> Section 8 (Component Connector End Views - K40D X4 To M6L) >> Component Connector End Views >> K99 Steering Column Position Control Module X3

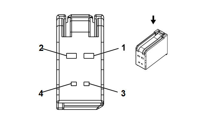
K99 Steering Column Position Control Module X3

WARNING: This page is about a different car, the 2017 Chevrolet Corvette. However, it is still accessible from the selected car via links, so may be relevant.
GM2829881
Connector Part Information
  • Harness Type: Instrument Panel
  • OEM Connector: 19206653
  • Service Connector: 19299685
  • Description: 4-Way F 0.64, 1.5 Series (WH)
Terminal Part Information

Terminal Type ID Terminated Lead Diagnostic Test Probe Terminal Removal Tool Service Terminal Tray Name Core Crimp Insulation Crimp
I Not Required J-35616-14 (GN) No Tool Required Not Required Not Required Not Required Not Required
II Not Required J-35616-64B (LT BU) No Tool Required Not Required Not Required Not Required Not Required
Pin Size Color Circuit Function Terminal Type ID Option
1 1 RD/BN 3640 Battery Positive Voltage I -
2 1 BK 1550 Ground I -
3 - - - Not Occupied - -
4 0.35 GN/WH 7530 Local Interconnect Network Serial Data Bus 8 II -