LEMON Manuals: Even more car manuals for everyone
Home >> Chevrolet >> 2017 >> Traverse LT, AWD >> Repair and Diagnosis >> External Pages >> Different car >> Section 8 (Component Connector End Views - K40D X4 To M6L) >> Component Connector End Views >> K99 Steering Column Position Control Module X1

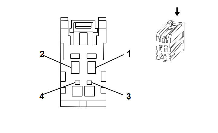
K99 Steering Column Position Control Module X1

WARNING: This page is about a different car, the 2017 Chevrolet Corvette. However, it is still accessible from the selected car via links, so may be relevant.
GM2966523
Connector Part Information
  • Harness Type: Steering Column Position Control Module
  • OEM Connector: 19206654
  • Service Connector: Service by Harness - See Part Catalog
  • Description: 4-Way F 0.64, 1.5 Series (GY)
Terminal Part Information

Terminal Type ID Terminated Lead Diagnostic Test Probe Terminal Removal Tool Service Terminal Tray Core Crimp Insulation Crimp
I Not Required Not Available No Tool Required Not Required Not Required Not Required Not Required
Pin Size Color Circuit Function Terminal Type ID Option
1 1 BN/GY 2112 Steering Column Tilt Motor Down Control I -
2 1 GY/VT 2111 Steering Column Tilt Motor Up Control I -
3 0.35 WH/BK 2157 Steering Column Tilt Motor Low Reference I -
4 0.35 YE 2154 Steering Column Tilt Motor Signal I -