LEMON Manuals: Even more car manuals for everyone
Home >> Chevrolet >> 2017 >> Traverse LS Base >> Repair and Diagnosis (Single Page) >> Electrical >> Wiring Diagrams >> Component Connector End Views - K9 X5 To K73 X1 >> Component Connector End Views >> K40 Seat Memory Control Module X7

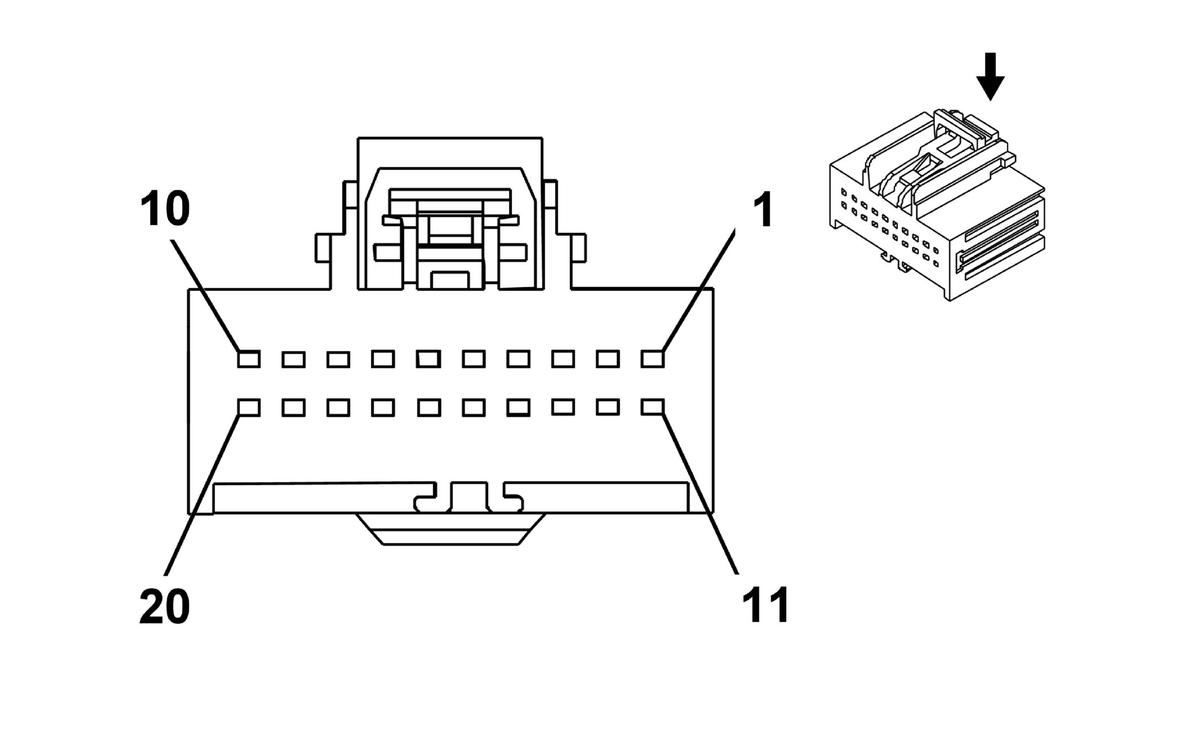
K40 Seat Memory Control Module X7

GM2871870
Connector Part Information
  • Harness Type: Driver Seat
  • OEM Connector: 7283-9112-80
  • Service Connector: Service by Harness - See Part Catalog
  • Description: 20-Way F Kaizen Series (BN)
Terminal Part Information

Terminal Type ID Terminated Lead Diagnostic Test Probe Terminal Removal Tool Service Terminal Tray Name Core Crimp Insulation Crimp
I Not Required J-35616-64B (LT BU) No Tool Required Not Required Not Required Not Required Not Required
Pin Size Color Circuit Function Terminal Type ID Option
1 - 6 - - - Not Occupied - -
7 0.35 GN 1518 Power Seat Front Vertical Up Switch Signal I AG3
8 0.35 YE 1519 Power Seat Rear Vertical Up Switch Signal I AG3
9 0.35 TN 1522 Power Seat Horizontal Forward Switch Signal I AG3
10 0.35 GY/BK 1269 Power Seat Recline Forward Switch Signal I AG3
11 - 15 - - - Not Occupied - -
16 0.35 GN 5060 Low Speed GMLAN Serial Data I A45
17 0.35 BU 1520 Power Seat Front Vertical Down Switch Signal I AG3
18 0.35 BU 1521 Power Seat Rear Vertical Down Switch Signal I AG3
19 0.35 GN 1523 Power Seat Horizontal Rearward Switch Signal I AG3
20 0.35 GN/WH 1270 Power Seat Recline Rearward Switch Signal I AG3