LEMON Manuals: Even more car manuals for everyone
Home >> Chevrolet >> 2017 >> Traverse LS Base >> Repair and Diagnosis (Single Page) >> Electrical >> Wiring Diagrams >> Component Connector End Views - K9 X5 To K73 X1 >> Component Connector End Views >> K40 Seat Memory Control Module X5

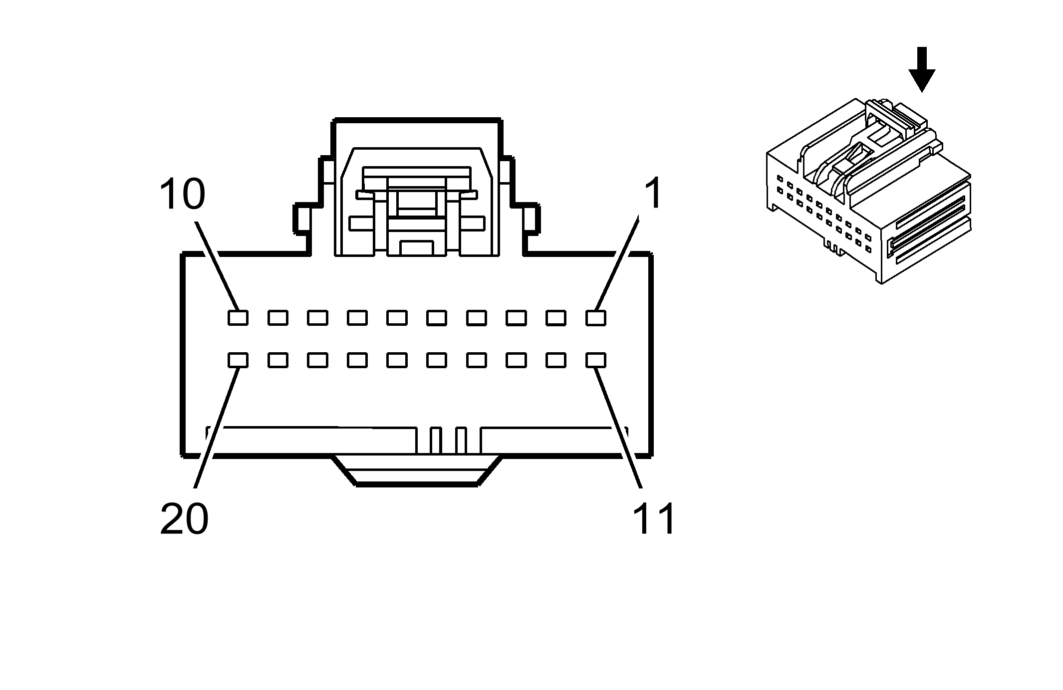
K40 Seat Memory Control Module X5

GM2871890
Connector Part Information
  • Harness Type: Driver Seat
  • OEM Connector: 7283-9110-30
  • Service Connector: Service by Harness - See Part Catalog
  • Description: 20-Way F 0.64 Kaizen Series (BK)
Terminal Part Information

Terminal Type ID Terminated Lead Diagnostic Test Probe Terminal Removal Tool Service Terminal Tray Name Core Crimp Insulation Crimp
I Not Required J-35616-64B (LT BU) No Tool Required Not Required Not Required Not Required Not Required
Pin Size Color Circuit Function Terminal Type ID Option
1 0.35 YE/BK 2079 Driver Heated Seat NTC Signal I -
2 0.35 GY 2434 Passenger Heated Seat NTC Signal I -
3 0.35 TN 2436 Passenger Heated Back NTC Signal I A45+KA1
4 0.35 BU 2425 Driver Heated Back NTC Signal I A45+KA1
5 - 8 - - - Not Occupied - -
9 0.35 OG 2153 Steering Column Telescope Motor Signal I N38
10 - - - Not Occupied - -
11 0.35 TN 6207 Memory Sensor High Reference I AG3
12 - 13 - - - Not Occupied - -
14 0.35 BN/WH 557 Memory Seat Front Vertical Motor Position Sensor Signal I AG3
15 0.35 TN 568 Memory Seat Rear Vertical Motor Position Sensor Signal I AG3
16 0.35 GN 569 Memory Seat Horizontal Motor Position Sensor Signal I AG3
17 0.35 WH/BK 570 Driver Memory Seat Recline Motor Position Sensor Signal I AG3
18 - 19 - - - Not Occupied - -
20 0.35 OG 2154 Steering Column Tilt Motor Signal I N38