LEMON Manuals: Even more car manuals for everyone
Home >> Chevrolet >> 2016 >> Tahoe SSV, Gas >> Repair and Diagnosis >> Accessories & Equipment >> Drivers Assistance Systems - ADAS >> Object Detection System And Pedestrian Protection System >> Schematic Wiring Diagrams >> Object Detection Wiring Schematics >> Comprehensive Safety - Rear Radar (UVZ)

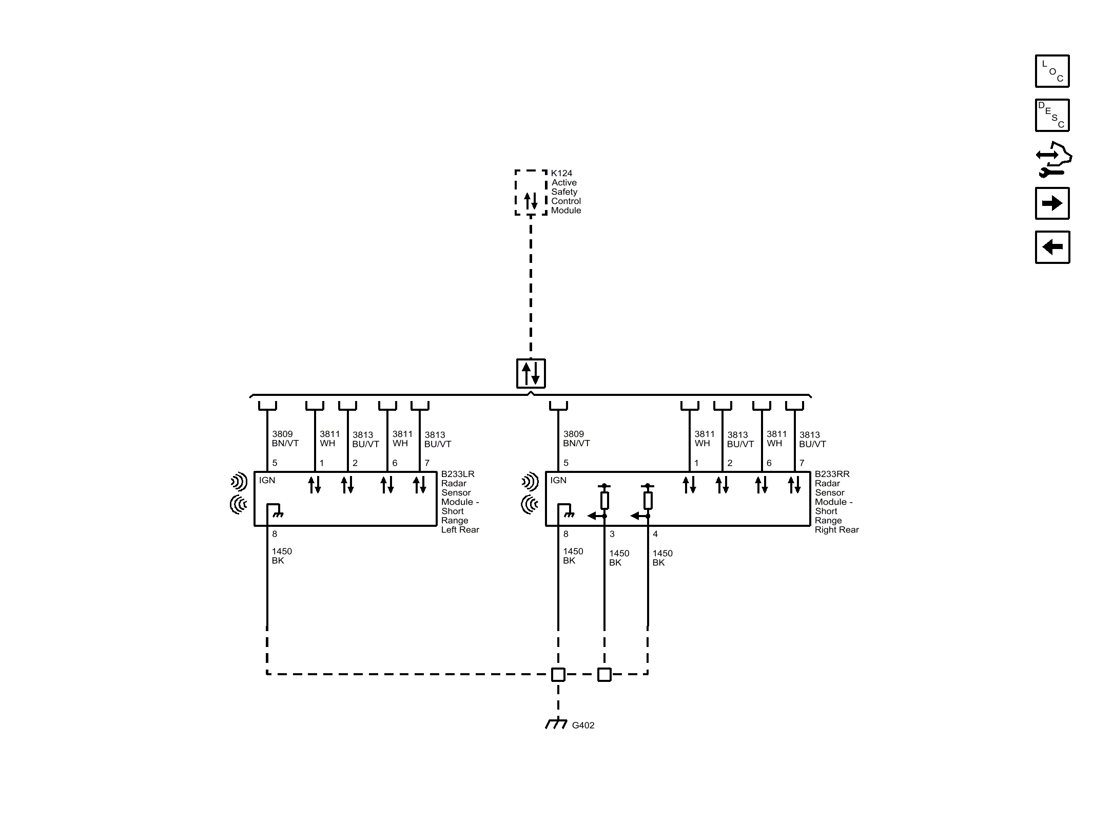
Comprehensive Safety - Rear Radar (UVZ)

Fig 1: Comprehensive Safety - Rear Radar (UVZ)
GM4074120Courtesy of GENERAL MOTORS COMPANY