LEMON Manuals: Even more car manuals for everyone
Home >> Chevrolet >> 2015 >> Traverse LS, AWD >> Repair and Diagnosis >> Electrical >> Wiring Diagrams >> Wiring Systems And Power Management - Component Connector End Views - S27 To X92RA >> Component Connector End Views >> T1 Accessory DC/AC Power Inverter Module KI7

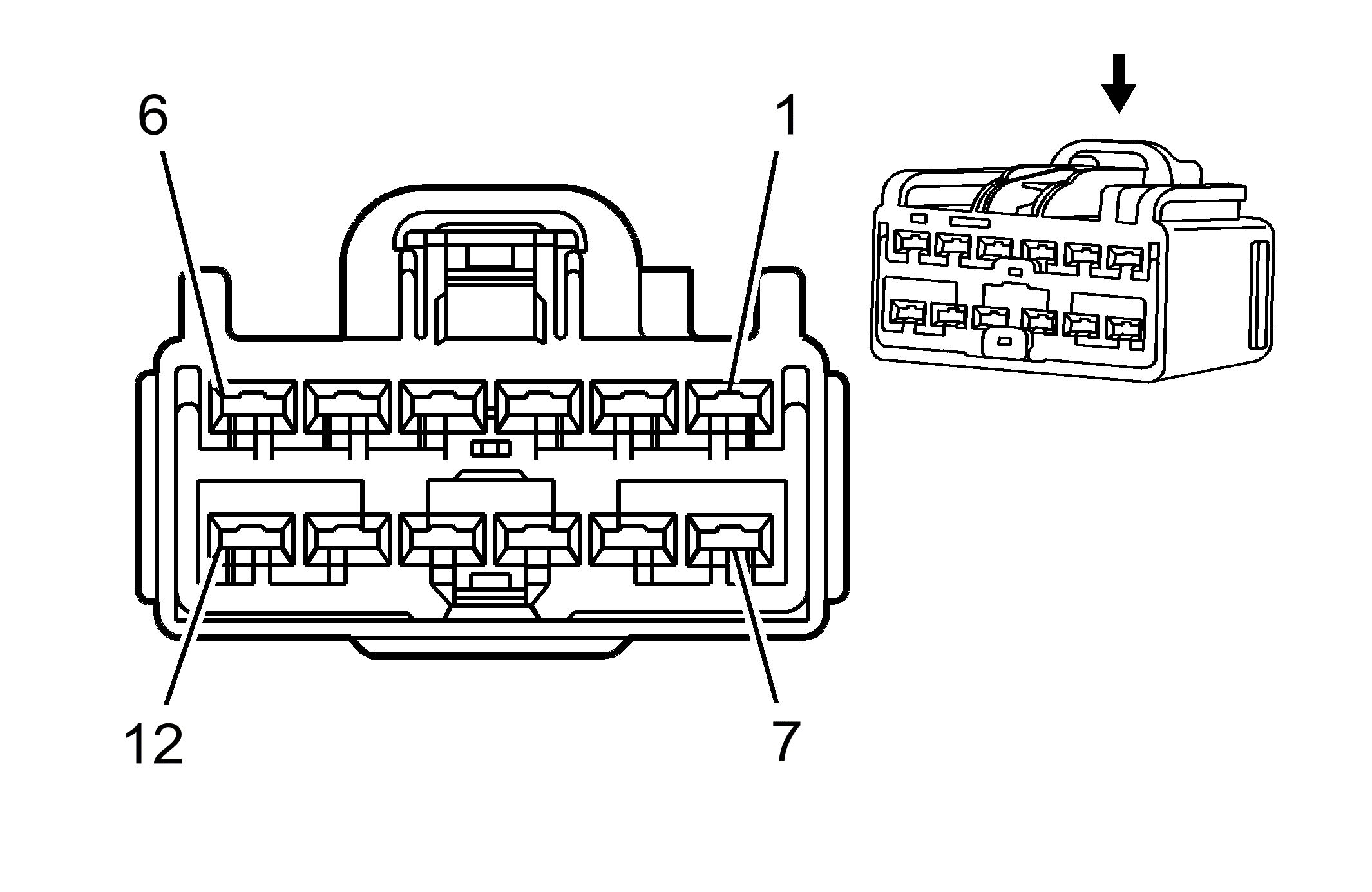
T1 Accessory DC/AC Power Inverter Module KI7

GM1851885
Connector Part Information
  • Harness Type: Body
  • OEM Connector: 7283-6468-60
  • Service Connector: 19167678
  • Description: 12-Way F YESC Kaizen Series (GN)
Terminal Part Information

Terminal Type ID Terminated Lead Diagnostic Test Probe Terminal Removal Tool Service Terminal Tray Core Crimp Insulation Crimp
I 13575832 J-35616-35 (VT) J-38125-11A Not Available Not Available Not Available Not Available
II 13575838 J-35616-35 (VT) J-38125-11A Not Available Not Available Not Available Not Available
III 13575839 J-35616-35 (VT) J-38125-11A Not Available Not Available Not Available Not Available
Pin Size Color Circuit Function Terminal Type ID Option
1-2 - - - Not Occupied - -
3 0.8 BN 686 230 VAC Phase A II KI7
4-5 - - - Not Occupied - -
6 2 RD/WH 2740 Battery Positive Voltage III KI7
7 0.8 RD 5684 120 VAC Phase B II KI7
8-10 - - - Not Occupied - -
11 5 BK 550 Ground I KI7
12 0.35 D-BU 6807 DC To AC Inverter Control II KI7