LEMON Manuals: Even more car manuals for everyone
Home >> Chevrolet >> 2015 >> Spark LS, Standard Trans >> Repair and Diagnosis >> Electrical >> Wiring Diagrams >> Wiring Systems And Power Management - Inline Harness Connector End Views And Component Connector End Views - Miscellaneous >> Component Connector End Views - Miscellaneous >> K43 Power Steering Control Module X4

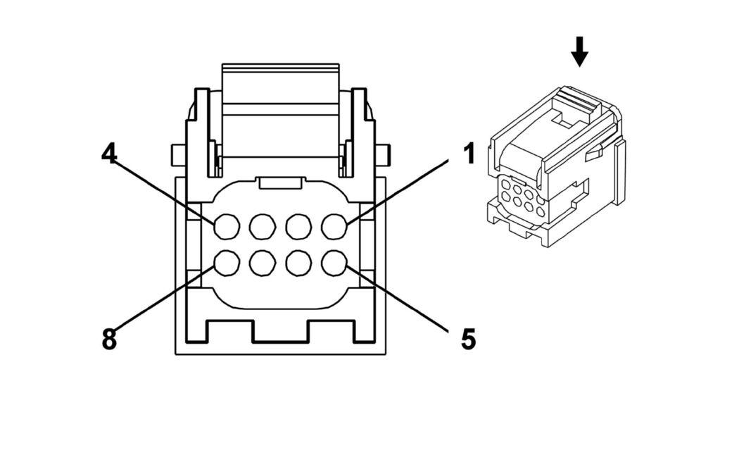
K43 Power Steering Control Module X4

GM2173890
Connector Part Information
  • Harness Type: Instrument Panel
  • OEM Connector: 15406142
  • Service Connector: 13337949
  • Description: 8-Way F 0.64 Micro-Pack Series (GY)
Terminal Part Information

Terminal Type ID Terminated Lead Diagnostic Test Probe Terminal Removal Tool Service Terminal Tray Name Core Crimp Insulation Crimp
I Not Required J-35616-64B (LT BU) No Tool Required Not Required Not Required Not Required Not Required
Pin Size Color Circuit Function Terminal Type ID Option
1 1:0.35 1:WH/BU 1:5986 1:Serial Data Communication Enable I NJ1
2 0.5 BU 2:2500 2:High Speed GMLAN Serial Data (+) 1 I NJ1
3 0.5 WH 3:2501 3:High Speed GMLAN Serial Data (-) 1 I NJ1
4 - 8 - - - Not Occupied - -