LEMON Manuals: Even more car manuals for everyone
Home >> Chevrolet >> 2013 >> Traverse LS, AWD >> Repair and Diagnosis >> External Pages >> Different car >> Section 132 (Wiring Systems And Power Management - Component Connector End Views - F1121D To K31 X1) >> Component Connector End Views >> K29F Seat Heating Control Module - Front X2

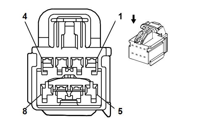
K29F Seat Heating Control Module - Front X2

WARNING: This page is about a different car, the 2015 Cadillac SRX. However, it is still accessible from the selected car via links, so may be relevant.
GM1849808
Connector Part Information
  • Harness Type: Driver Seat Cushion
  • OEM Connector: 10846802
  • Service Connector: Service by Harness Assembly- See Part Catalog
  • Description: 8-Way F 1.5 Kaizen YESC Series (L-GY)
Terminal Part Information

Terminal Type ID Terminated Lead Diagnostic Test Probe Terminal Removal Tool Service Terminal Tray Core Crimp Insulation Crimp
I Not Required J-35616-2A (GY) No Tool Required Not Required Not Required Not Required Not Required
II Not Required J-35616-2A (GY) No Tool Required Not Required Not Required Not Required Not Required
III Not Required J-35616-2A (GY) No Tool Required Not Required Not Required Not Required Not Required
Pin Size Color Circuit Function Terminal Type ID Option
1 - - - Not Occupied - -
2 1.5 RD/YE 1442 Battery Positive Voltage II -
3 1.5 RD/GY 1342 Battery Positive Voltage II -
4 1 BN/D-BU 2479 Passenger Heated Seat Element Control I -
5 1 BN/VT 2077 Driver Heated Seat Element Control I -
6 1 BN 2432 Driver Heated Back Element Control I -
7 2.5 BK 650 Ground III -
8 1 GY 2045 Video Synchronization Signal (1) I -