LEMON Manuals: Even more car manuals for everyone
Home >> Chevrolet >> 2013 >> Sonic RS, Automatic Trans >> Repair and Diagnosis >> External Pages >> Different car >> Section 472 (Wiring Systems And Power Management - Component Connector End Views - A3L Through K20 ECM X1 (1.8L)) >> Component Connector End Views >> K20 Engine Control Module X1 (LUW)

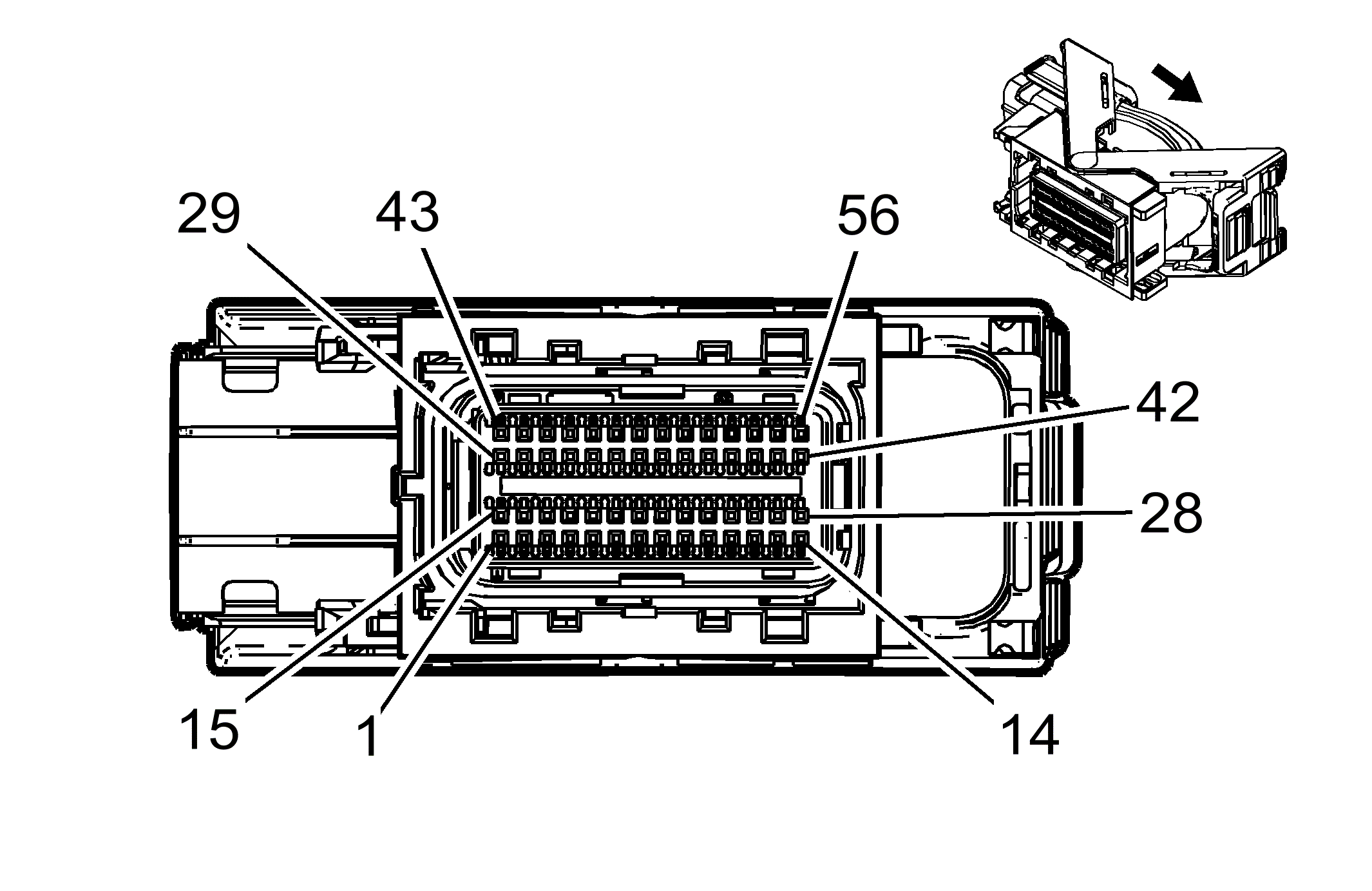
K20 Engine Control Module X1 (LUW)

WARNING: This page is about a different car, the 2012 Chevrolet Cruze. However, it is still accessible from the selected car via links, so may be relevant.
GM2499316Courtesy of
Connector Part Information
  • Harness Type: Engine
  • OEM Connector: 19167430
  • Service Connector: 13581098
  • Description: 56-Way F (BK)
Terminal Part Information
  • Pins: 1, 2, 4, 5, 7, 10, 11, 15, 16, 19-21, 23-29, 32-34, 36, 38, 40-47, 51-56
  • Terminated Lead: 13582274
  • Release Tool: J-38125-12A
  • Diagnostic Test Probe: J-35616-64B (L-BU)
  • Terminal/Tray: 928999-5/15
  • Core/Insulation Crimp: J/J
  • Pins: 3, 6, 12, 14,
  • Terminated Lead: 13582275
  • Release Tool: J-38125-12A
  • Diagnostic Test Probe: J-35616-64B (L-BU)
  • Terminal/Tray: 1719532-5/7
  • Core/Insulation Crimp: J/J
K20 Engine Control Module X1 (LUW)

Pin Wire Circuit Function
1 0.5 BN/WH 419 Check Engine Indicator Control
2 0.5 D-GN/GY 465 Fuel Pump Primary Relay Control
3 0.75 VT/L-BU 5290 Powertrain Main Relay Fused Supply (1)
4 0.5 WH/GY 459 A/C Compressor Clutch Relay Control
5 0.5 WH/RD 1164 Accelerator Pedal Position 5 Volt Reference (1)
6 0.75 WH 1310 EVAP Canister Vent Solenoid Control
7 0.5 GY/BK 3097 5 Volt Reference (MZ0)
8-9 - - Not Used
10 0.5 D-BU 2500 High Speed GMLAN Serial Data (+) (1)
11 0.5 WH 2501 High Speed GMLAN Serial Data (-) (1)
12 0.75 RD/WH 140 Battery Positive Voltage
13 - - Not Used
14 0.75 VT/GY 139 Run/Crank Ignition 1 Voltage
15 0.5 BN/YE 473 High Speed Cooling Fan Relay Control
16 0.5 YE 5991 Powertrain Relay Coil Control
17-18 - - Not Used
19 0.5 BN/RD 1274 Accelerator Pedal Position 5 Volt Reference (2)
20 0.5 BK/L-BU 1271 Accelerator Pedal Position Low Reference (1)
21 0.5 BK/VT 1272 Accelerator Pedal Position Low Reference (2)
22 - - Not Used
23 0.5 BK/GY 6110 Clutch Apply Sensor Low Reference (MZ0)
24 0.5 BK/VT 2760 Intake Air Temperature Sensor Low Reference
25 0.5 WH/D-BU 6311 Cruise/ETC/TCC Brake Signal
26 0.5 D-GN 275 Park Neutral Position Switch Park Signal (MH8)
27 0.5 L-GN 3098 Output Speed (Digital) Signal (MZ0)
28 0.5 L-GN/WH 5007 Reverse Switch Signal (MZ0)
29 0.5 YE/BK 625 Starter Enable Relay Control
30-31 - - Not Used
32 0.5 GY/RD 6109 Clutch Apply Sensor Voltage Reference (MZ0)
33 0.5 BN/RD 2700 A/C Pressure Sensor 5 Volt Reference
34 0.5 YE/RD 2709 Fuel Tank Pressure Sensor 5 Volt Reference
35 - - -
36 0.5 VT/YE 5985 Accessory Wakeup Serial Data
37 - - Not Used
38 0.5 BK/D-GN 6281 Fuel Level Sensor Low Reference
39 - - -
40 0.5 YE/WH 1161 Accelerator Pedal Position Signal (1)
41 0.5 D-GN 380 A/C Refrigerant Pressure Sensor Signal
42 0.5 D-GN/WH 1162 Accelerator Pedal Position Signal (2)
43 0.5 D-BU 6814 Thermostat Engine Cool Control
44 0.5 D-GN/VT 335 Low Speed Cooling Fan Relay Control
45 0.5 BK/BN 5514 A/C Refrigerant Pressure Sensor Low Reference
46 0.5 BK/D-BU 6813 Coolant Temperature Sensor #2 Low Reference
47 0.5 WH/BK 3096 5 Volt Reference (MZ0)
48-50 - - Not Used
51 0.5 L-GN/WH 492 Mass Air Flow Sensor Signal
52 0.5 D-BU/VT 1589 Primary Fuel Level Sensor Signal
53 0.5 YE/BK 3000 Coolant Temperature Sensor #2 Signal
54 0.5 BN/VT 472 Intake Air Temperature Sensor Signal
55 0.5 D-BU/WH 890 Fuel Tank Pressure Sensor Signal
56 0.5 YE 6111 Clutch Apply Sensor Signal (MZ0)