LEMON Manuals: Even more car manuals for everyone
Home >> Chevrolet >> 2012 >> Volt >> Repair and Diagnosis (Single Page) >> Quick Lookups >> Wiring Diagrams >> Wiring Systems And Power Management - Component Connector End Views - F101 Through K112B >> Component Connector End Views >> K1 14V Power Module X1

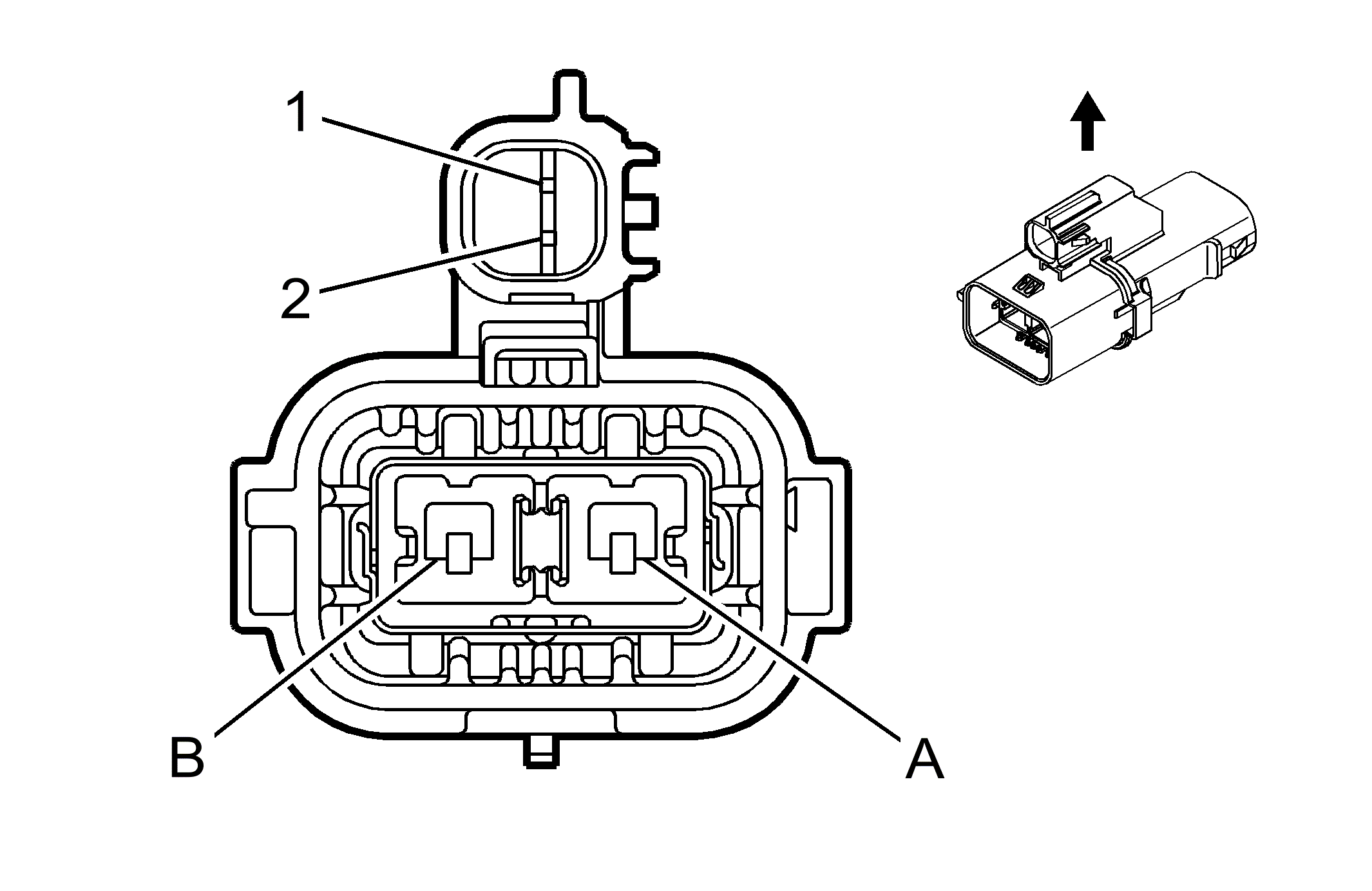
K1 14V Power Module X1

GM2474687
Connector Part Information
  • Harness Type: High Voltage
  • OEM Connector: 13737736
  • Service Connector: Service by Harness - See Part Catalog
  • Description: 2-Way M (OG)
Terminal Part Information
  • Terminated Lead: Service by Harness - See Part Catalog
  • Release Tool: Pending
  • Diagnostic Test Probe: Pending
  • Terminal/Tray: Not Available
  • Core/Insulation Crimp: Not Available
K1 14V Power Module X1

Pin Size Color Circuit Function Option
A 2.0 OG 5084 High Voltage Battery (+) -
B 2.0 OG 5083 High Voltage Battery (-) -
1 - - - High Voltage Interlock Loop Shunt -
2 - - - High Voltage Interlock Loop Shunt -