LEMON Manuals: Even more car manuals for everyone
Home >> Chevrolet >> 2012 >> Volt >> Repair and Diagnosis (Single Page) >> Electrical >> Wiring Diagrams >> Wiring Systems And Power Management - Component Connector End Views - K112B Through X98 >> Component Connector End Views >> T6 Power Inverter Module Assembly X1

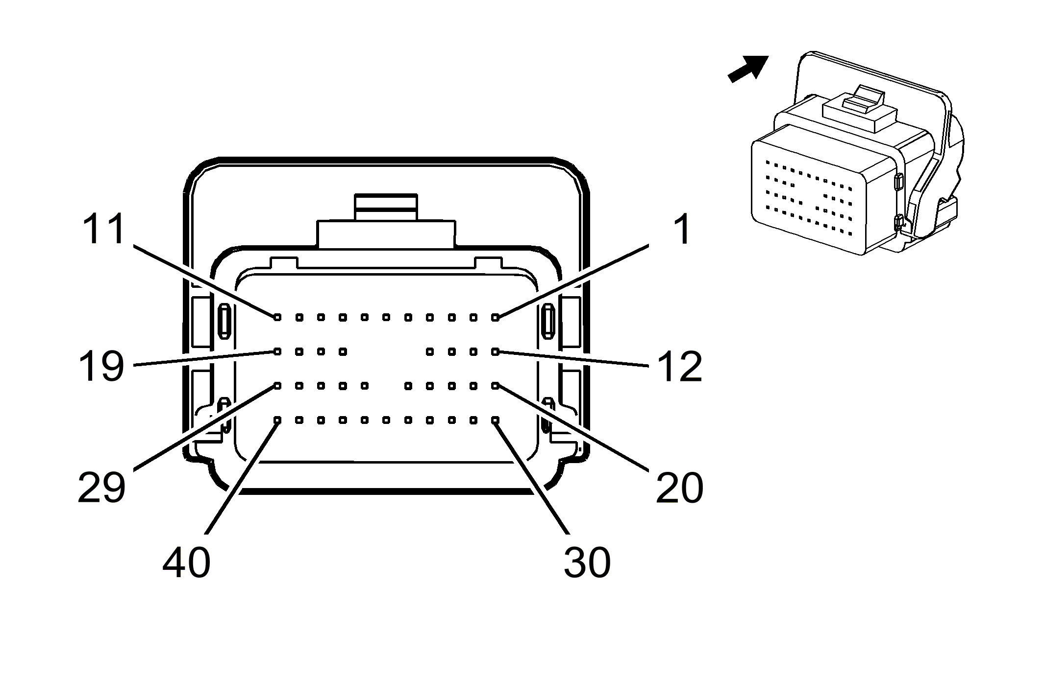
T6 Power Inverter Module Assembly X1

GM2474745
Connector Part Information
  • Harness Type: Engine
  • OEM Connector: HPSPB-40C31-BH
  • Service Connector: 13577546
  • Description: 40-Way F 0.64 Series, Sealed (GY)
Terminal Part Information
  • Pins: 1-3, 12-14, 33-36
  • Terminated Lead: 13505805
  • Release Tool: J-38125-215A
  • Diagnostic Test Probe: J-35616-64B (L-BU)
  • Terminal/Tray: Pending
  • Core/Insulation Crimp: Pending
  • Pins: 4-11, 15-22, 24, 25, 30-32
  • Terminated Lead: 13575865
  • Release Tool: J-38125-215A
  • Diagnostic Test Probe: J-35616-64B (L-BU)
  • Terminal/Tray: SAIT-A03T-M064/14
  • Core/Insulation Crimp: P/P
T6 Power Inverter Module Assembly X1

Pin Size Color Circuit Function Option
1 0.75 GY 3487 Traction Power Inverter Module Resolver #2 S3 Signal -
2 0.75 L-GN 3491 Traction Power Inverter Module Resolver #2 S2 Signal -
3 0.75 L-BU 3486 Traction Power Inverter Module Resolver #2 Excitation Signal Positive -
4 0.5 WH 6106 High Speed GMLAN Serial Data (-) (2) -
5 0.5 WH 6106 High Speed GMLAN Serial Data (-) (2) -
6 0.5 WH 6106 High Speed GMLAN Serial Data (-) (2) -
7 0.5 L-BU/YE 6105 High Speed GMLAN Serial Data (+) (2) -
8 0.5 WH 7494 High Speed GMLAN Serial Data (-) (3) -
9 0.5 L-BU/BK 7493 High Speed GMLAN Serial Data (+) (3) -
10 0.5 WH 2501 High Speed GMLAN Serial Data (-) (1) -
11 0.5 L-BU 2500 High Speed GMLAN Serial Data (+) (1) -
12 0.75 L-BU/YE 3488 Traction Power Inverter Module Resolver #2 S1 Signal -
13 0.75 BN/YE 3492 Traction Power Inverter Module Resolver #2 S4 Signal -
14 0.75 WH/L-GN 3485 Transmission Traction Power Inverter Module Resolver #2 Excitation Signal Negitive -
15 0.5 L-BU/YE 6105 High Speed GMLAN Serial Data (+) (2) -
16 0.5 WH 7494 High Speed GMLAN Serial Data (-) (3) -
17 0.5 L-BU/BK 7493 High Speed GMLAN Serial Data (+) (3) -
18 0.5 WH 2501 High Speed GMLAN Serial Data (-) (1) -
19 0.5 L-BU 2500 High Speed GMLAN Serial Data (+) (1) -
20 0.5 BN 7652 Traction Power Inverter Module Resolver #1 S3 Signal -
21 0.5 VT/L-GN 7647 Transmission Traction Power Inverter Module Resolver #1 S2 Signal -
22 0.5 L-BU 7645 Traction Power Inverter Module Resolver #1 Excitation Signal Positive -
23 - - - Not Used -
24 0.5 RD/VT 1940 Battery Positive Voltage -
25 0.5 L-BU/YE 6105 High Speed GMLAN Serial Data (+) (2) -
26-29 - - - Not Used -
30 0.5 YE 7649 Traction Power Inverter Module Resolver #1 S1 Signal -
31 0.5 GY 7646 Transmission Traction Power Inverter Module Resolver #1 S4 Signal -
32 0.5 WH/L-GN 7648 Traction Power Inverter Module Traction Power Inverter Module Resolver #1 Excitation Signal Negative -
33 0.75 BN/WH 3489 Traction Power Inverter Module Motor #2 Temp Signal -
34 0.75 BN 3490 Traction Power Inverter Module Motor #2 Temp Sensor Return -
35 0.75 WH/L-BU 7653 Traction Power Inverter Motor #1 Temperature Sensor Signal -
36 0.75 L-GN 7654 Traction Power Inverter Motor #1 Temperature Sensor Return -
37-40 - - - Not Used -