LEMON Manuals: Even more car manuals for everyone
Home >> Chevrolet >> 2012 >> Traverse LS, AWD >> Repair and Diagnosis >> Quick Lookups >> Wiring Diagrams >> Wiring Systems And Power Management - Component Connector End Views - Memory Seat Module X5 To Yaw Sensor >> Component Connector End Views >> Tail Lamp - Inner Right (Z88)

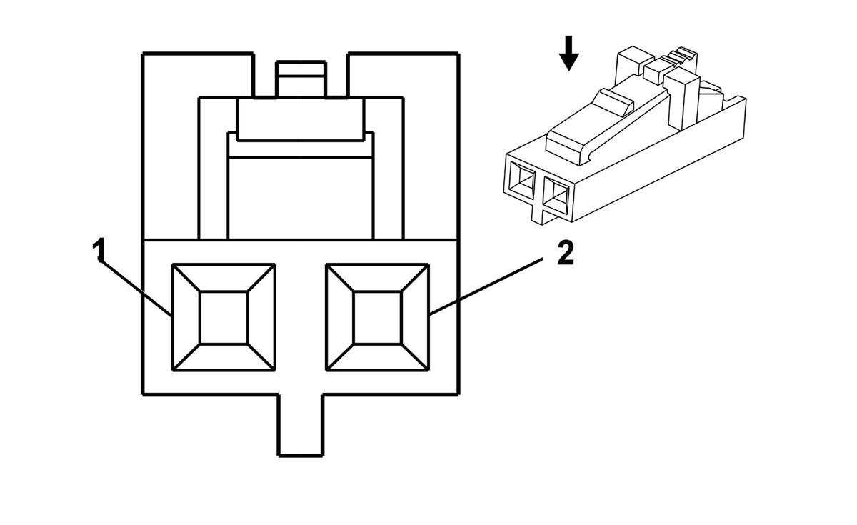
Tail Lamp - Inner Right (Z88)

GM1335523Courtesy of
Connector Part Information
  • Harness Type: Right Tail Lamp
  • OEM Connector: 104257-1
  • Service Connector: Service by Harness - See Part Catalog
  • Description: 2-Way F (BK)
Terminal Part Information
  • Terminated Lead: Service by Connector Assembly - 104257-1
  • Release Tool: Not Available
  • Diagnostic Test Probe: Not Available
  • Terminal/Tray: Not Available
  • Core/Insulation Crimp: Not Available
Tail Lamp - Inner Right (Z88)

Pin Wire Circuit Function
1 0.5 BK - Right Park Lamp Voltage
2 0.5 BK - Ground