LEMON Manuals: Even more car manuals for everyone
Home >> Chevrolet >> 2012 >> Traverse LS, AWD >> Repair and Diagnosis >> Quick Lookups >> Wiring Diagrams >> Wiring Systems And Power Management - Component Connector End Views - Memory Seat Module X5 To Yaw Sensor >> Component Connector End Views >> Park Lamp - Right Front (Z88)

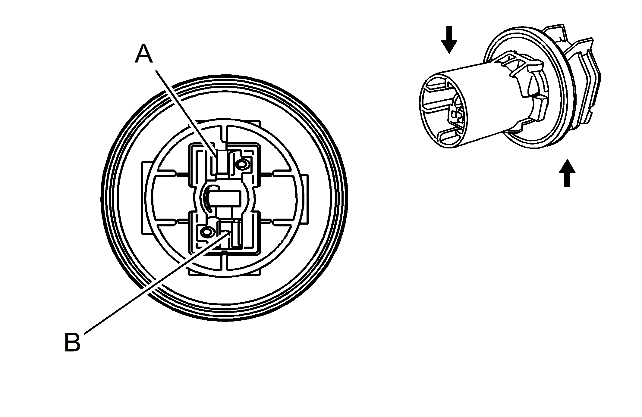
Park Lamp - Right Front (Z88)

GM1998684Courtesy of
Connector Part Information
  • Harness Type: Right Headlamp
  • OEM Connector: 5230
  • Service Connector: Service by Harness - See Part Catalog
  • Description: 2-Way F WBN-F35.4 Bulb Holder (BK)
Terminal Part Information
  • Terminated Lead: Service by Connector Assembly - 5230
  • Release Tool: Not Available
  • Diagnostic Test Probe: Not Available
  • Terminal/Tray: Not Available
  • Core/Insulation Crimp: Not Available
Park Lamp - Right Front (Z88)

Pin Wire Circuit Function
A 0.5 D-BU - Right Park Lamp Voltage
0.5 L-BU - Right Park Lamp Voltage
B 0.5 BK - Ground