LEMON Manuals: Even more car manuals for everyone
Home >> Chevrolet >> 2012 >> Corvette Base, 2D Convertible, Automatic Trans >> Repair and Diagnosis >> Quick Lookups >> Electrical Component Locations >> Electrical Component Locator - Powertrain Component Views >> Powertrain Component Views >> Manual Transmission Components- Right Side (MN6)

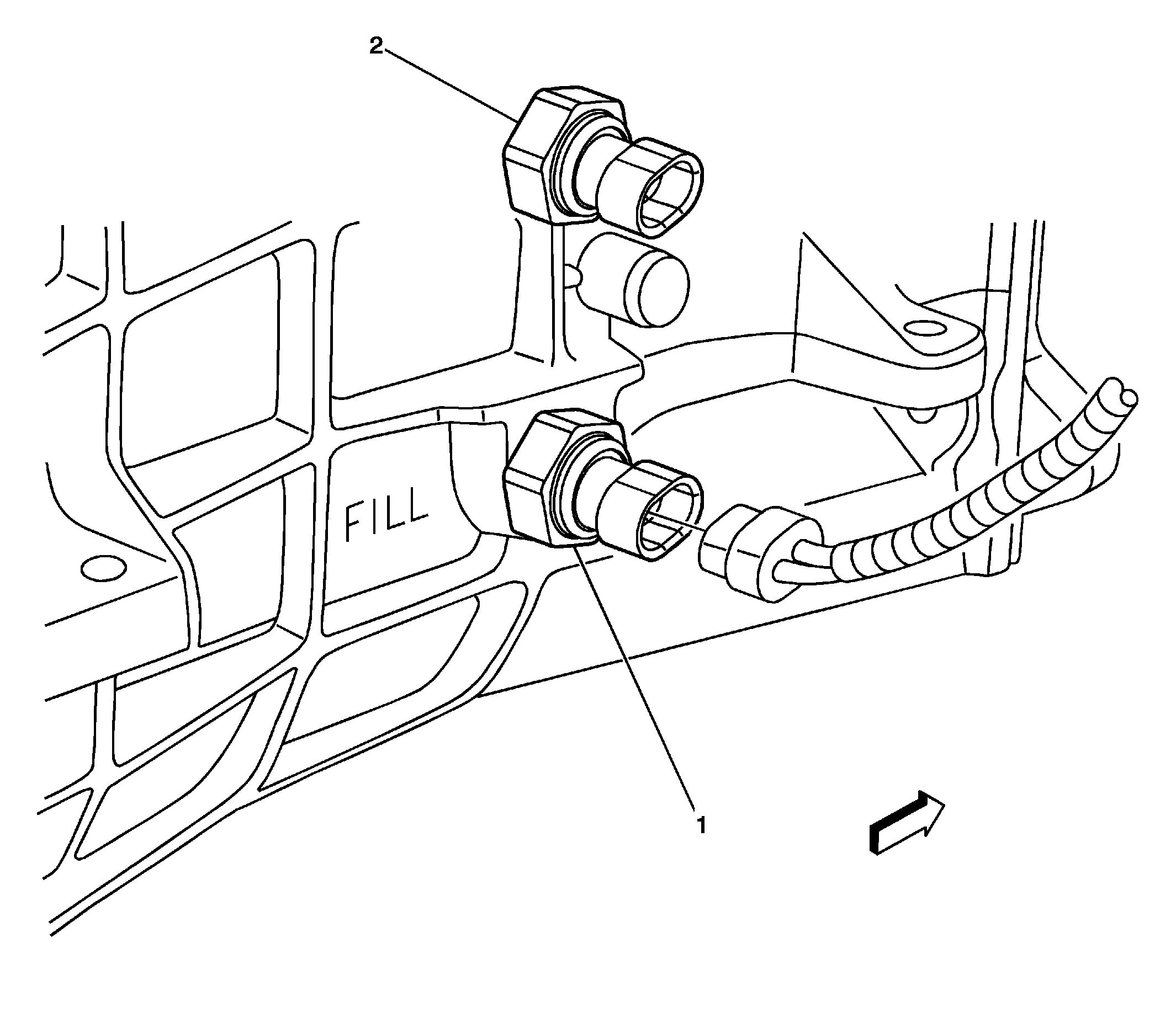
Manual Transmission Components- Right Side (MN6)

Manual Transmission Components- Right Side (MN6)

Component Name Callout
Manual Transmission Fluid Temperature Sensor 1
Backup Lamp Switch 2
Fig 1: Manual Transmission Components - Right Side (MN6)
GM901391Courtesy of GENERAL MOTORS COMPANY