LEMON Manuals: Even more car manuals for everyone
Home >> Chevrolet >> 2012 >> Corvette Base, 2D Convertible, Automatic Trans >> Repair and Diagnosis >> Quick Lookups >> Electrical Component Locations >> Electrical Component Locator - Powertrain Component Views >> Powertrain Component Views >> Engine Compartment Electrical Components

Engine Compartment Electrical Components

Engine Compartment Electrical Components

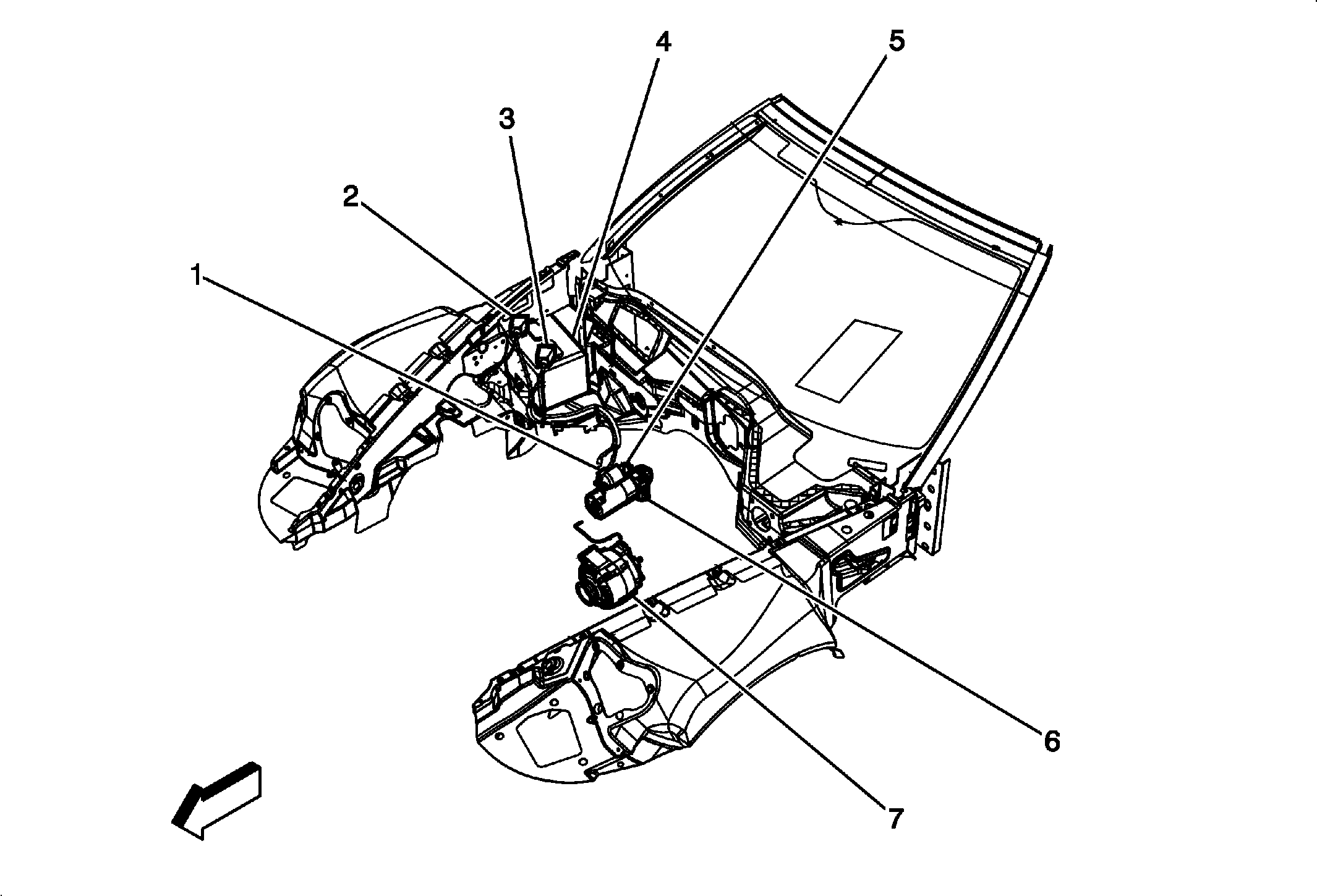
Component Name Callout
G106 1
Battery Positive Cable 2
Battery Negative Cable 3
Battery (LS3 without Z52) 4
Starter Solenoid 5
Starter Motor 6
Generator (LS3 or LS7) 7
Fig 1: Engine Compartment Electrical Components
GM2528923Courtesy of GENERAL MOTORS COMPANY