LEMON Manuals: Even more car manuals for everyone
Home >> Chevrolet >> 2012 >> Corvette Base, 2D Convertible, Automatic Trans >> Repair and Diagnosis >> Electrical >> Component Locations >> Electrical Component Locator - Instrument Panel/Center Console Component Views >> Instrument Panel/Center Console Component Views >> Behind the Center of the Instrument Panel Components

Behind the Center of the Instrument Panel Components

Behind the Center of the Instrument Panel Components

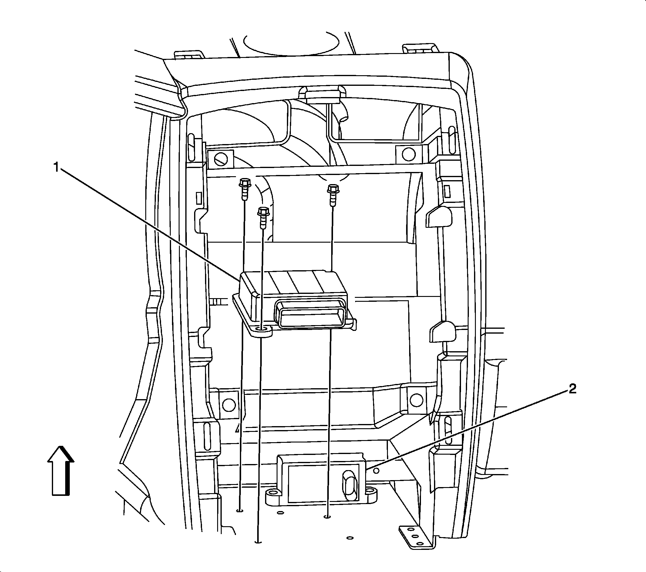
Component Name Callout
Inflatable Restraint Sensing and Diagnostic Module (SDM) 1
Yaw and Lateral Accelerometer Sensor 2
Fig 1: Behind the Center of the I/P Component View
GM1358215Courtesy of GENERAL MOTORS COMPANY